LEMON Manuals: Even more car manuals for everyone
Home >> Nissan-Datsun >> 2019 >> Sentra SL >> Repair and Diagnosis >> Accessories & Equipment >> Anti-Theft Systems >> Security Control System (With Intelligent Key System) >> System Description >> System >> Intelligent Key System/Engine Start Function >> System Description >> System Diagram

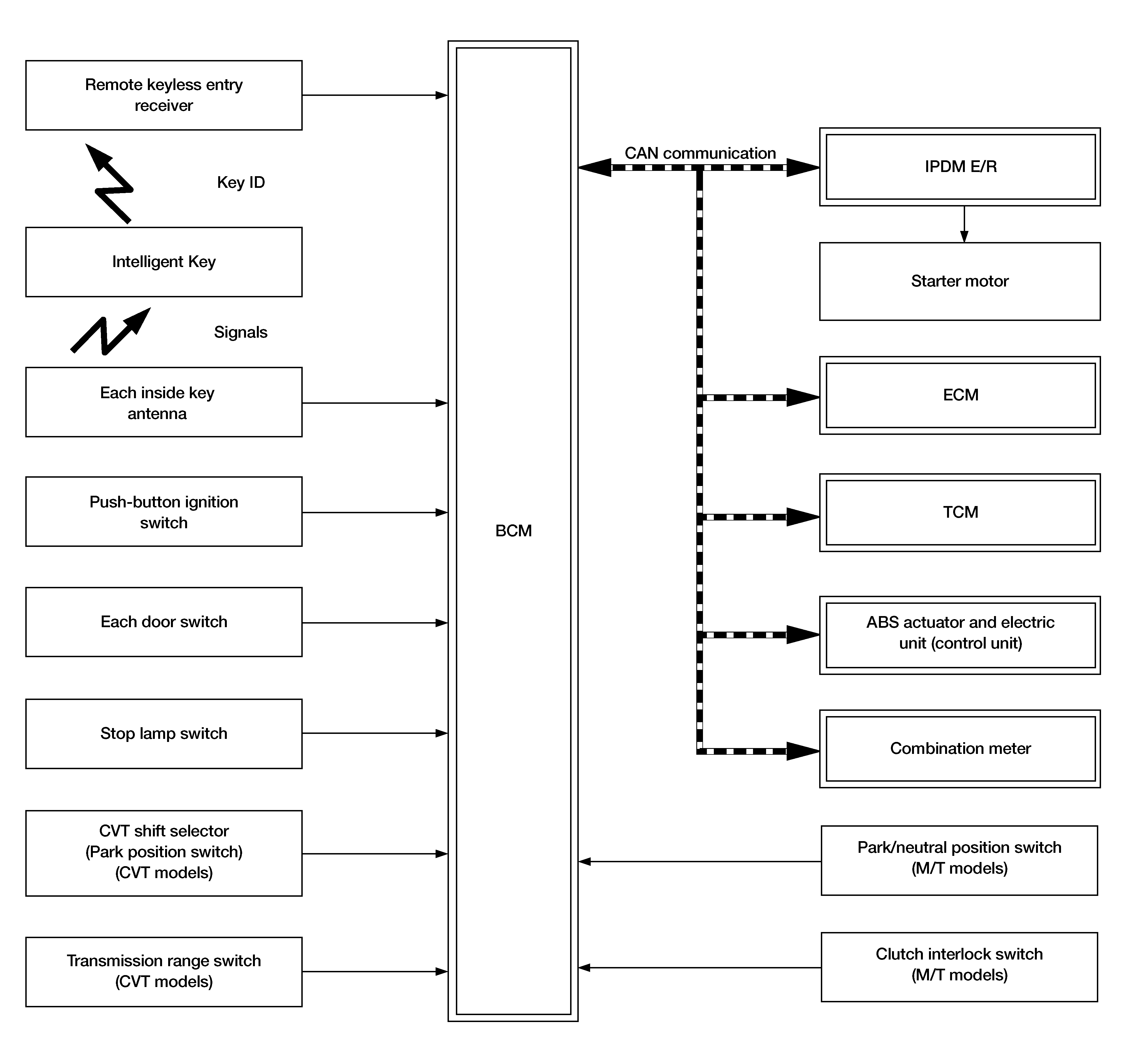
System Diagram

G05717245Courtesy of NISSAN NORTH AMERICA, INC.