LEMON Manuals: Even more car manuals for everyone
Home >> Nissan-Datsun >> 2012 >> Sentra SE-R >> Repair and Diagnosis (Single Page) >> Transmission >> Automatic Transmission (CVT) >> Service Information >> CVT System >> TCM Function >> Control System Diagram

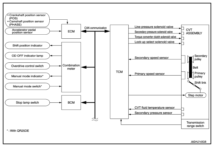
Control System Diagram

Fig 1: Identifying CVT Control System Diagram
G08180686Courtesy of NISSAN NORTH AMERICA, INC.