LEMON Manuals: Even more car manuals for everyone
Home >> Nissan-Datsun >> 2011 >> Sentra SE-R >> Repair and Diagnosis (Single Page) >> Transmission >> Automatic Transmission - CVT : Re0F10A >> Service Information >> CVT System >> TCM Function >> Control System Diagram

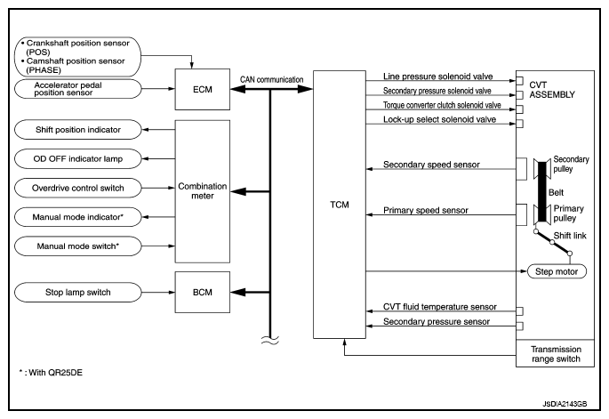
Control System Diagram

Fig 1: Control System Diagram
G07139082Courtesy of NISSAN MOTOR CO., U.S.A.