LEMON Manuals: Even more car manuals for everyone
Home >> Nissan-Datsun >> 2009 >> Sentra SE-R >> Repair and Diagnosis >> Steering >> Power Steering >> Power Steering System >> Service Information >> Power Steering Gear >> Disassembly and Assembly >> Assembly

Disassembly and Assembly: Assembly

  1. Apply recommended grease to the rack bush in the gear housing assembly.
  2. Apply recommended grease to teeth part and back of rack assembly.
  3. Install inner socket to rack assembly. Torque to specified value while holding the flat portion of the rack next to the inner socket using a suitable tool.
  4. Apply recommended grease to inner socket. For application points, refer to " "EXPLODED VIEW ".
  5. Decide on the neutral position for the rack assembly. Refer to "STEERING GEAR (R24K) ".
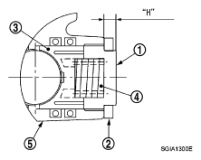
  6. Apply recommended grease to around retainer (3), then install retainer (3), spring (4) and adjusting screw (1) to gear housing assembly (5).
  7. Apply recommended thread locking sealant to the thread (2 turns thread), and then screw in the adjusting screw (1) until it reaches height "H" from gear housing assembly (5) measured before disassembling.
  8. Tighten lock nut to (2) the specified torque securing it to prevent adjusting screw (1) from freewheeling condition.
    Fig 1: Identifying Adjusting Screw Height
    G04927415Courtesy of NISSAN MOTOR CO., U.S.A.
  9. Move rack assembly 10 strokes throughout the full stroke so that the parts can fit with each other.
  10. Using tools measure rotating torque of pinion assembly. If the measurement is outside of the specified range, readjust pinion rotating torque. If the measurement is outside of the specified range for readjust, replace steering gear assembly. Refer to "STEERING GEAR (R24K) ".
  11. Set dial gauge to the back of rack assembly on the pinion assembly side around the center of stroke. Measure displacement of rack under torsional torque of ± 7.8 N.m (0.80 kg-m, 69 in-lb), and then check if it is within the standard value. If the measurement is outside the standard value, adjust it again. After the readjustment, if measurement is still outside the standard value, replace steering gear assembly. Refer to "STEERING GEAR (R24K) ".
  12. Install boot to gear housing assembly and inner socket.
    Fig 2: Measuring Displacement Of Rack
    G04927421Courtesy of NISSAN MOTOR CO., U.S.A.
  13. Install boot clamp (1) to boot using Tool.
    NOTE: Install large diameter side boot clamp (1) securely to boot groove, and crimp it so as to have clearance of 3 mm (0.12 in) or less as shown.

    Tool number : KV40107300 ( - ) 

    Fig 3: Identifying Large Diameter Side Boot Clamp
    G04927422Courtesy of NISSAN MOTOR CO., U.S.A.
  14. Install joint cover (1) to gear housing assembly (2).
    CAUTION: Install joint cover so that the protrusion for locating is securely set to gear housing groove.
    Fig 4: Identifying Joint Cover To Gear Housing Assembly
    G04927423Courtesy of NISSAN MOTOR CO., U.S.A.
  15. Adjust inner socket to standard length "L", and then tighten lock nut to the specified torque. Refer to "EXPLODED VIEW ". Check length of inner socket "L" again after tightening lock nut. Make sure that the length is the standard. Refer to "STEERING GEAR (R24K) ".
    CAUTION: Adjust toe-in. Refer to "WHEEL ALIGNMENT INSPECTION ". Length achieved after toe-in adjustment is not necessarily the above value.
    Fig 5: Identifying Lock Nut And Inner Socket Length
    G04876915Courtesy of NISSAN MOTOR CO., U.S.A.