LEMON Manuals: Even more car manuals for everyone
Home >> Nissan-Datsun >> 2009 >> Sentra SE-R >> Repair and Diagnosis (Single Page) >> Transmission >> Automatic Trans >> Continuously Variable Transmission (CVT) >> Service Information >> CVT System >> TCM Function >> Control System Diagram

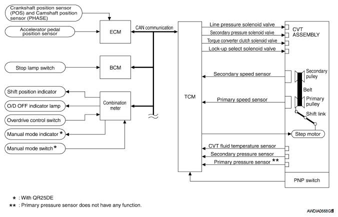
Control System Diagram

Fig 1: Control System Diagram
G05924254Courtesy of NISSAN MOTOR CO., U.S.A.