LEMON Manuals: Even more car manuals for everyone
Home >> Nissan-Datsun >> 2009 >> Cube Base >> Repair and Diagnosis >> Steering >> Power Steering >> Steering Control System >> System Description >> EPS System >> System Diagram

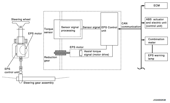
System Diagram

Fig 1: EPS System Diagram
G05915417Courtesy of NISSAN MOTOR CO., U.S.A.