LEMON Manuals: Even more car manuals for everyone
Home >> Nissan-Datsun >> 2007 >> Sentra SE-R >> Repair and Diagnosis (Single Page) >> Transmission >> Automatic Trans >> Continuously Variable Transmission (CVT) >> Shift Control System >> Adjustment of PNP switch

Adjustment of PNP switch

  1. Move selector lever to "N" position.
  2. Remove control cable from manual lever.
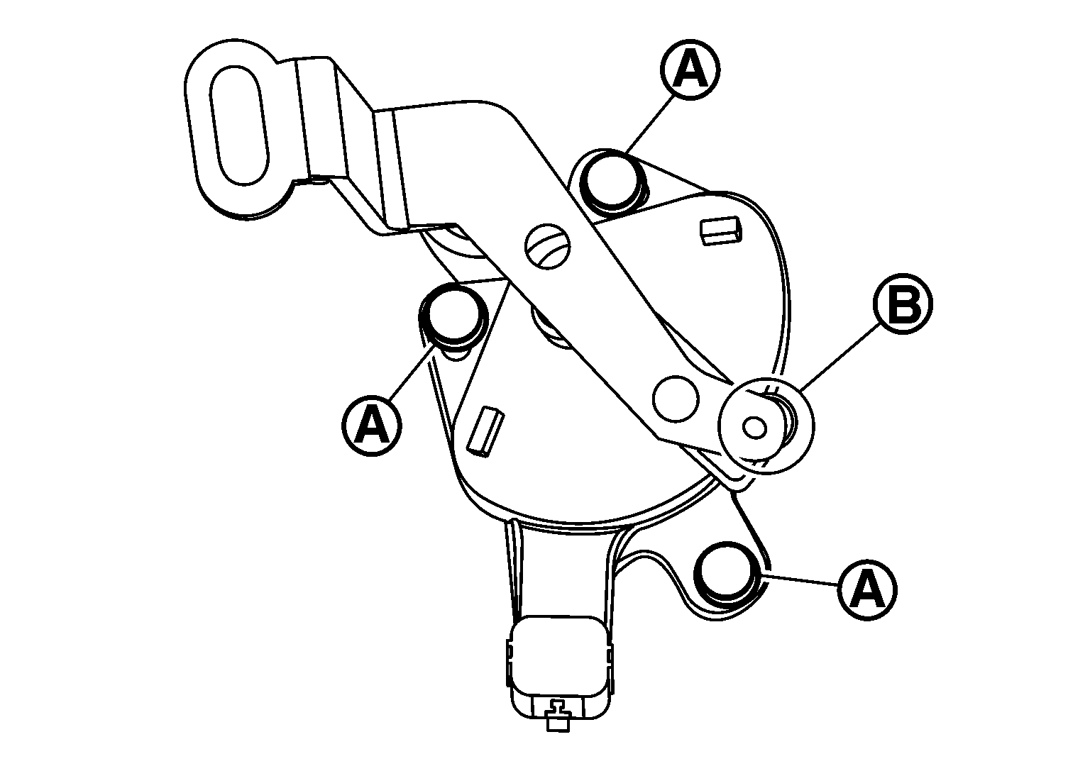
  3. Loosen PNP switch bolts (A). Insert a pin (ø4 mm) into the adjusting holes (B) on both PNP switch and manual lever for adjusting the position.
  4. Tighten PNP switch bolts (A).

    PNP switch bolts : 5.9 N.m (0.60 kg-m, 52 in-lb) 

  5. Connect control cable on manual lever (B). Refer to "ADJUSTMENT OF CVT POSITION ".
    Fig 1: Identifying PNP Switch Bolts And Adjusting Holes
    G04927108