LEMON Manuals: Even more car manuals for everyone
Home >> Nissan-Datsun >> 2007 >> Sentra SE-R >> Repair and Diagnosis (Single Page) >> Transmission >> Automatic Trans >> Continuously Variable Transmission (CVT) >> CVT System >> TCM Function >> Control System Diagram

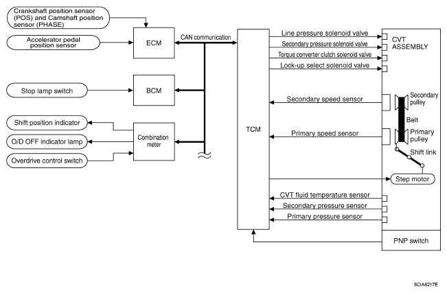
Control System Diagram

Fig 1: CVT Control System Diagram
G04926973