LEMON Manuals: Even more car manuals for everyone
Home >> Nissan-Datsun >> 2007 >> Sentra SE-R >> Repair and Diagnosis (Single Page) >> Engine Performance >> System >> Engine Control System - DTCS P0181 To P0500 (Qr25DE) >> DTC P0441 EVAP Control System >> Overall Function Check >> With GST

With GST

  1. Lift up drive wheels.
  2. Start engine and warm it up to normal operating temperature.
  3. Turn ignition switch OFF and wait at least 10 seconds.
  4. Start engine and wait at least 70 seconds.
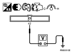
  5. Set voltmeter probes to ECM terminals 42 (EVAP control system pressure sensor signal) and ground.
  6. Check EVAP control system pressure sensor value at idle speed and note it.
  7. Establish and maintain the following conditions for at least 1 minute.
    AIR CONDITIONER SWITCH REFERENCE

    Air conditioner switch ON
    Headlamp switch ON
    Rear window defogger switch ON
    Engine speed Approx. 3, 000 rpm
    Shift lever Any position other than P, N or R
    Fig 1: Checking Voltage Between ECM Terminals 42 And Ground
    G04925410Courtesy of NISSAN NORTH AMERICA, INC.
  8. Verify that EVAP control system pressure sensor value stays 0.1V less than the value at idle speed (measured at step  6) for at least 1 second.
  9. If NG, go to "DIAGNOSTIC PROCEDURE ".