LEMON Manuals: Even more car manuals for everyone
Home >> Nissan-Datsun >> 2005 >> Sentra SE-R >> Repair and Diagnosis >> Engine Performance >> System >> Engine Control System - Introduction (Qr25DE) >> Trouble Diagnosis - Specification Value >> Diagnostic Procedure (A/T Models ULEV and M/T Models) >> Overall Sequence

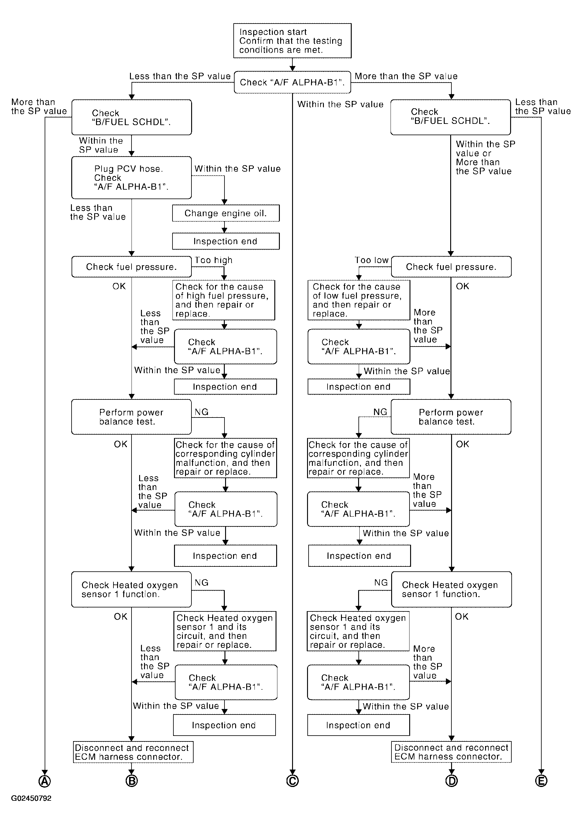
Overall Sequence

Fig 1: Diagnostic Procedure Flow Chart - A/T Models ULEV And M/T Models (1 Of 2)
G02450792Courtesy of NISSAN MOTOR CO., U.S.A.
Fig 2: Diagnostic Procedure Flow Chart - A/T Models ULEV And M/T Models (2 Of 2)
G02450793Courtesy of NISSAN MOTOR CO., U.S.A.