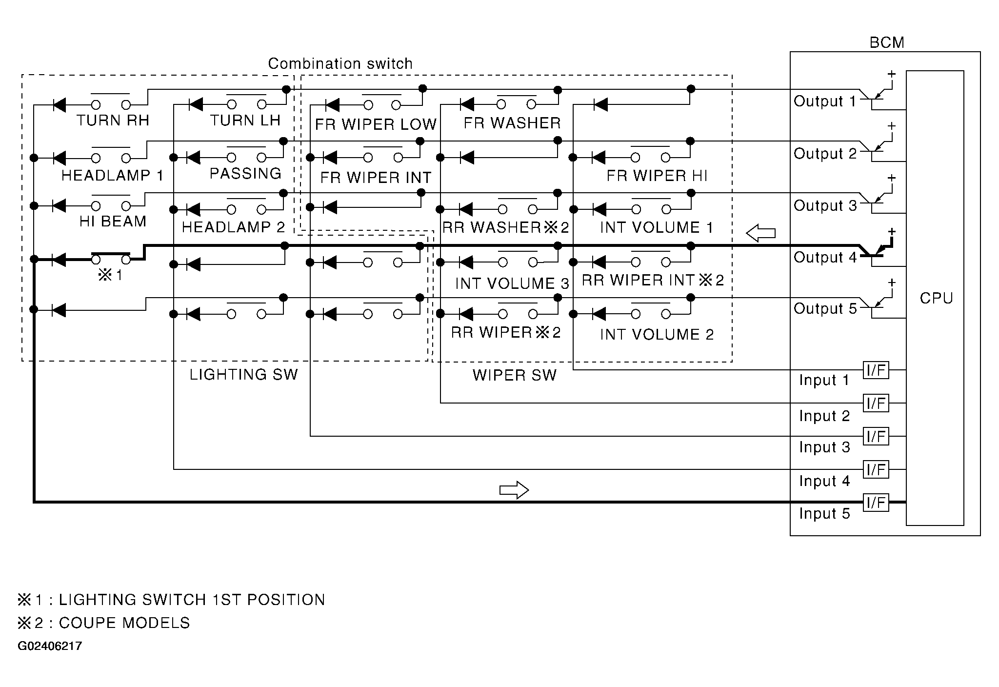
Sample Operation (When Lighting switch 1ST Position Turned ON)
WARNING: This page is about a different car, the 2005 Nissan 350Z. However, it is still accessible from the selected car via links, so may be relevant.
- When lighting switch 1ST position is turned ON, contact in combination switch turns ON. At this time if OUTPUT 4 transistor is activated, BCM detects that voltage changes in INPUT 5.
- When OUTPUT 4 transistor is ON, BCM detects that voltage changes in INPUT 5, and judges that lighting switch 1ST position is ON. Then BCM sends lighting switch (1ST position) ON signal to IPDM E/R using CAN communication.
- When OUTPUT 4 transistor is activated again, BCM detects that voltage changes in INPUT 5, and recognizes that lighting switch 1ST position is continuously ON.