LEMON Manuals: Even more car manuals for everyone
Home >> Nissan-Datsun >> 2004 >> Sentra SE-R >> Repair and Diagnosis >> External Pages >> Different car >> Section 126 (Body Control Modules) >> Description & Operation >> BCM Function >> Combination Switch Reading Function

Combination Switch Reading Function

WARNING: This page is about a different car, the 2002 Nissan Altima. However, it is still accessible from the selected car via links, so may be relevant.
NOTE: Each OUTPUT terminal transistor is activated at 10 millisecond interval. Therefore, after a switch is turned "ON", the electrical loads are activated with a time delay. But this time delay is so short that it cannot be noticed.
NOTE: Headlight has a dual system switch for safe operation.

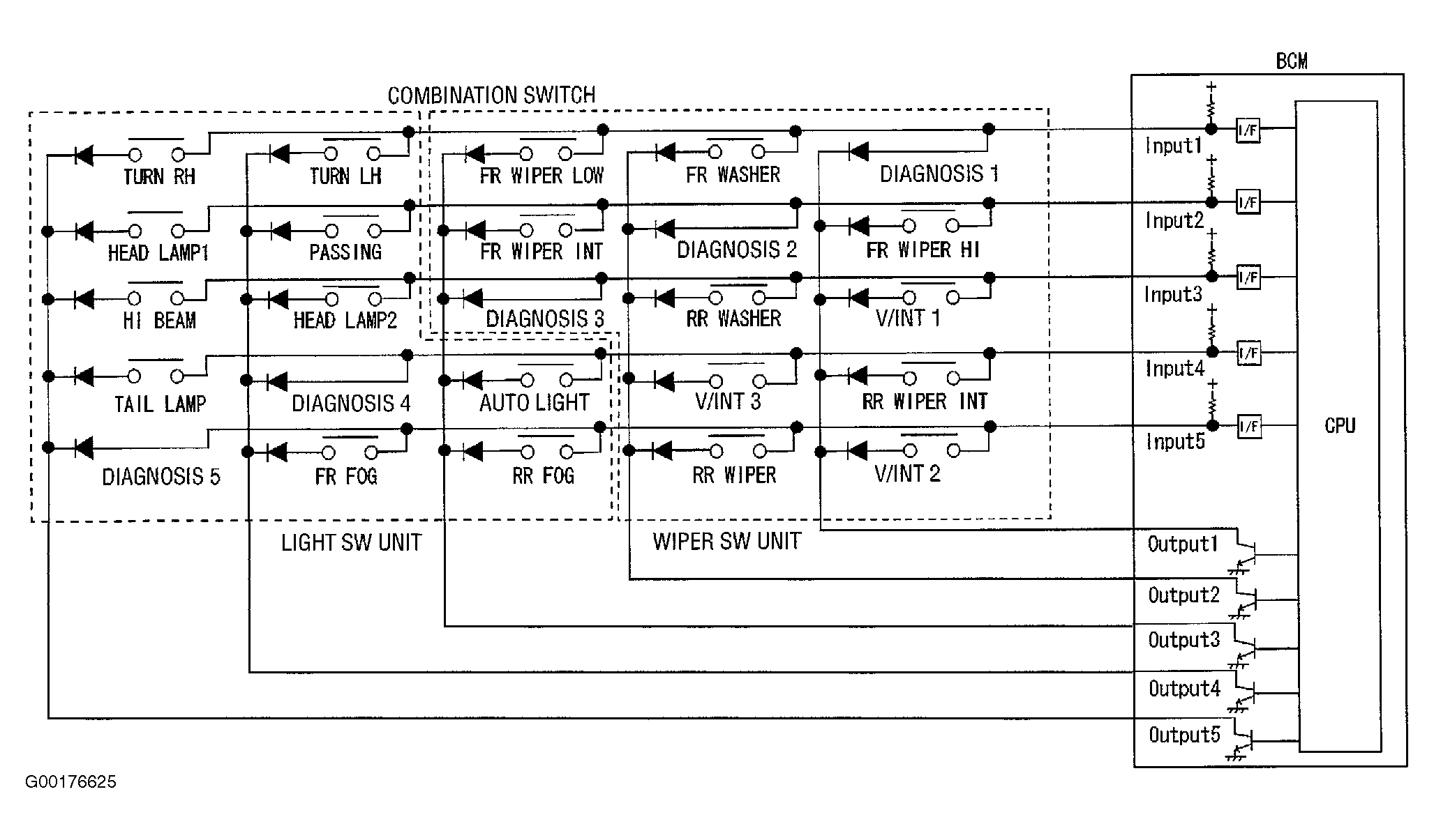
The BCM reads combination switch (light, wiper washer, turn signal) status, and controls various electrical components according to the results. The BCM reads information of 20 switches and 5 diagnostic results by combining 5 output terminals (OUTPUT 1-5) and 5 input terminals (INPUT 1-5). See Fig 1 .

The BCM outputs battery voltage from input terminals (INPUT 1-5) all the time. At the same time output terminals (OUTPUT 1-5) activate transistors in turn, and allow current to flow. At this time, if any (1 or more) of the switches are "ON", the input terminals corresponding to these switches detect current flow, and BCM judges switches are "ON".

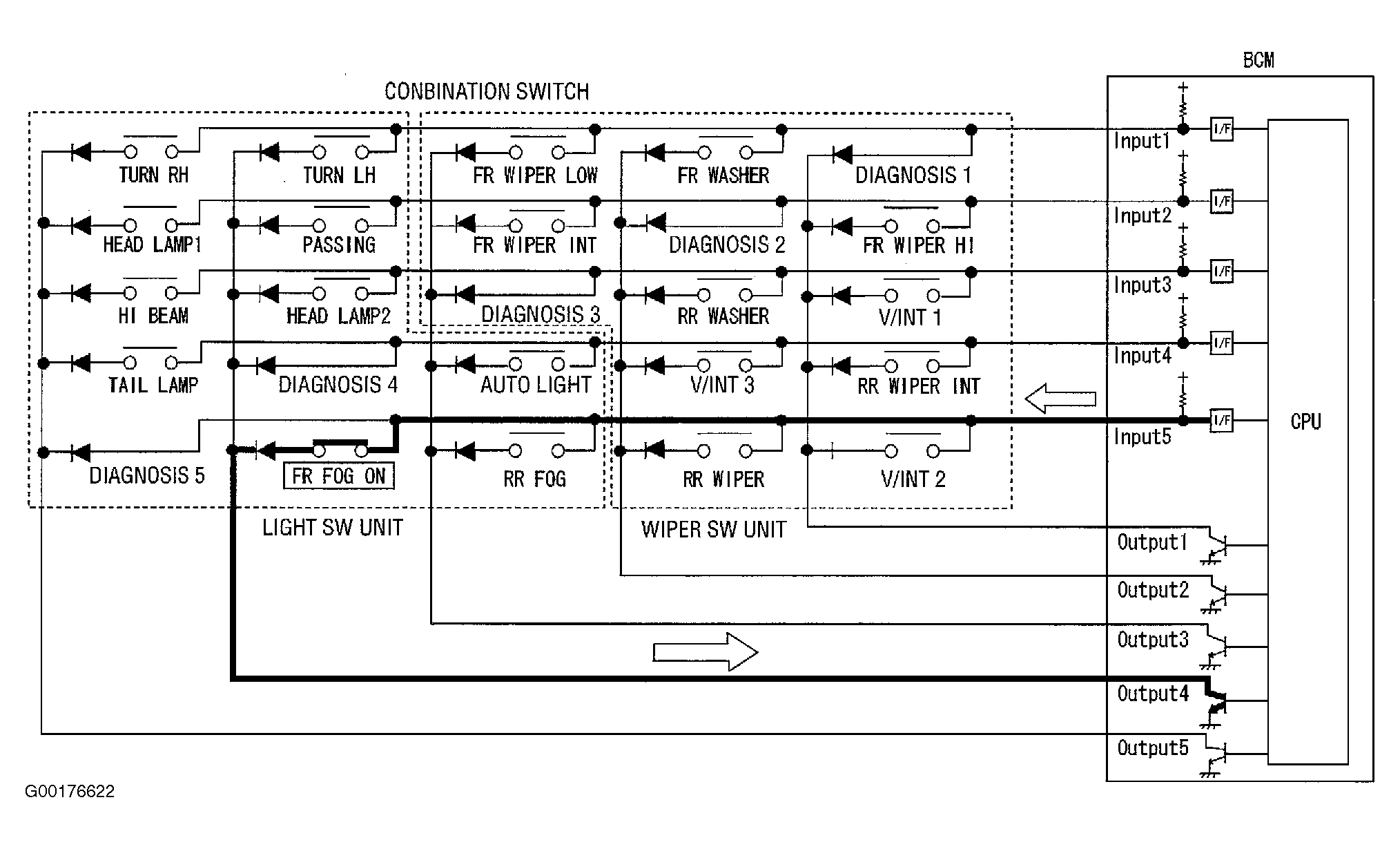
An example of this would be, when fog lamp switch is turned "ON", contact in combination switch turns "ON". At this time if OUTPUT 4 transistor is activated, BCM detects current flow in INPUT 5. When OUTPUT 4 transistor is "ON", BCM detects current flow in INPUT5, and judges fog lamp switch is "ON". Then BCM sends fog lamp "ON" signal to IPDM E/R using CAN communication. When OUTPUT 4 transistor is activated again, BCM detects current flow in INPUT 5, and confirms fog lamp switch is continuously "ON". See Fig 2 .

The BCM reads operation status of combination switches by the combination shown in Fig 3 .

Combination switch reading function has operation modes as shown in Fig 4 . When BCM is not in sleep mode, each OUTPUT (1-5) terminal turns "ON-OFF" at 10 millisecond intervals. When BCM is in sleep mode, transistors of OUTPUT 1 and 2 stop the output, and BCM enters low-current-consumption mode. OUTPUTS (3-5) turn "ON-OFF" at 60 millisecond intervals, and receives lighting switch input only.

Fig 1: Identifying Combination Switch Reading Function
G00176625Courtesy of NISSAN MOTOR CO., U.S.A.
Fig 2: Identifying Fog Lamp Switch Example
G00176622Courtesy of NISSAN MOTOR CO., U.S.A.
Fig 3: Identifying Combination Switch Combinations
G00176623Courtesy of NISSAN MOTOR CO., U.S.A.
Fig 4: Identifying Combination Switch Reading Operation Modes
G00176624Courtesy of NISSAN MOTOR CO., U.S.A.