LEMON Manuals: Even more car manuals for everyone
Home >> Nissan-Datsun >> 2004 >> Sentra SE-R >> Repair and Diagnosis (Single Page) >> Engine Performance >> System >> Accelerator Control >> Accelerator Control System >> Removal and Installation

Removal and Installation

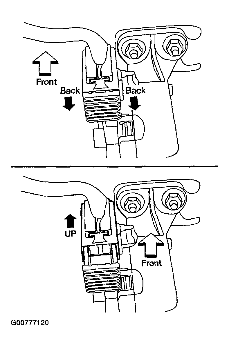
  1. Disconnect the accelerator pedal position sensor electrical connector.
    1. Pull the connector lock back to unlock the connector from the accelerator pedal position sensor.
    2. Pull up on the connector to disconnect it from the accelerator pedal position sensor.
      Fig 1: Disconnecting Accelerator Pedal Position Sensor Electrical Connector
      G00777120Courtesy of NISSAN MOTOR CO., U.S.A.
  2. Remove the upper and lower pedal assembly nuts.
    Fig 2: Removing Upper And Lower Pedal Assembly Nuts
    G00777121Courtesy of NISSAN MOTOR CO., U.S.A.
  3. Remove the pedal assembly.
    CAUTION:
    • Do not disassemble the pedal assembly. Do not remove the accelerator pedal position sensor from the pedal assembly.
    • Avoid impact from dropping during handling.
    • Keep the pedal assembly away from water.
  4. Installation is in the reverse order of removal.
    • Check the accelerator pedal for smooth operation. There should be no binding or sticking when applying or releasing the accelerator pedal.
      Fig 3: Removing Accelerator Pedal
      G00777122Courtesy of NISSAN MOTOR CO., U.S.A.
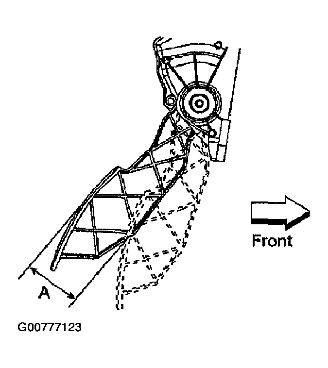
    • Check that the accelerator pedal moves through the full specified distance of pedal travel.

      Pedal Travel "A": 52.6 - 58.2 mm (2.07 - 2.29 in) 

      Fig 4: Checking Accelerator Pedal Moves Through Full Specified Distance Of Pedal Travel
      G00777123Courtesy of NISSAN MOTOR CO., U.S.A.
CAUTION: When the harness connector of the accelerator pedal position sensor is disconnected, perform the "Accelerator Pedal Released Position Learning". Refer to ACCELERATOR PEDAL RELEASED POSITION LEARNING (QG18DE) or ACCELERATOR PEDAL RELEASED POSITION LEARNING (QR25DE) .