LEMON Manuals: Even more car manuals for everyone
Home >> Nissan-Datsun >> 2003 >> Sentra SE-R, Automatic >> Repair and Diagnosis >> External Pages >> Different car >> Section 2201 (Body Control System) >> System Description >> Combination Switch Reading System >> System Diagram

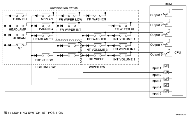
System Diagram

WARNING: This page is about a different car, the 2011 Nissan Xterra. However, it is still accessible from the selected car via links, so may be relevant.
Fig 1: Combination Switch System Diagram
G04942288