LEMON Manuals: Even more car manuals for everyone
Home >> Nissan-Datsun >> 2003 >> Sentra SE-R, Automatic >> Repair and Diagnosis >> External Pages >> Different car >> Section 2201 (Body Control System) >> DTC/Circuit Diagnosis >> Combination Switch >> Description >> Combination Switch Matrix

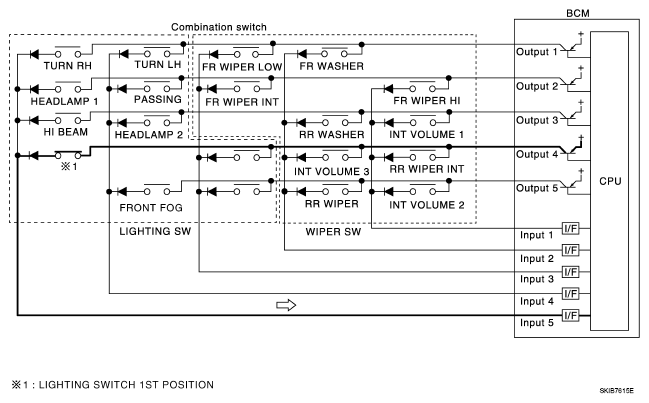
Combination Switch Matrix

WARNING: This page is about a different car, the 2011 Nissan Xterra. However, it is still accessible from the selected car via links, so may be relevant.

Combination switch consists of INPUT circuit and OUTPUT circuit.

Fig 1: Combination Switch Circuit
G04942290

Combination switch INPUT-OUTPUT system list

COMBINATION SWITCH INPUT-OUTPUT SYSTEM LIST

System OUTPUT 1 OUTPUT 2 OUTPUT 3 OUTPUT 4 OUTPUT 5
INPUT 1 - FR WASHER FR WIPER LOW TURN LH TURN RH
INPUT 2 FR WIPER HI - FR WIPER INT PASSING HEADLAMP 1
INPUT 3 INT VOLUME 1 RR WASHER - HEADLAMP 2 HI BEAM
INPUT 4 RR WIPER INT INT VOLUME 3 - - TAIL LAMP
INPUT 5 INT VOLUME 2 RR WIPER - FR FOG -
NOTE: Headlamp has a dual system switch.