LEMON Manuals: Even more car manuals for everyone
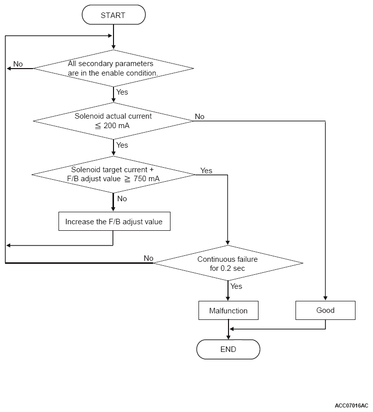
Home >> Mitsubishi >> 2019 >> Eclipse Cross ES, AWD >> Repair and Diagnosis >> Transmission >> Automatic Trans >> Continuously Variable Transaxle (CVT) (With Diagnostics) >> Diagnosis <CVT> >> Diagnostic Trouble Code Procedures >> DTC P2721: Malfunction Of Select Pressure Solenoid Valve (High Input) >> Logic Flow Charts (Monitor Sequence)

Logic Flow Charts (Monitor Sequence)

G10230005Courtesy of MITSUBISHI MOTOR SALES OF AMERICA.