LEMON Manuals: Even more car manuals for everyone
Home >> Mitsubishi >> 2017 >> Mirage ES, Standard Trans >> Repair and Diagnosis >> External Pages >> Different variant/trim >> Section 1 (Continuously Variable Transaxle (CVT)) >> Diagnosis >> Diagnostic Trouble Code Procedures >> DTC U0100: CAN Time-Out Error (Engine) >> LOGIC FLOW CHARTS (Monitor Sequence)

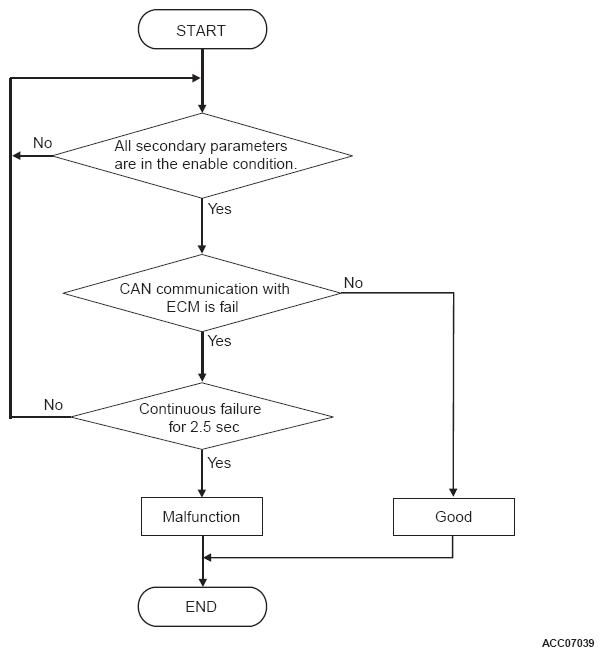
LOGIC FLOW CHARTS (Monitor Sequence)

WARNING: This page is about a different variant/trim than selected.
Fig 1: CAN Time-Out Error (Engine) - DTC Flow Chart
G11278264Courtesy of MITSUBISHI MOTOR SALES OF AMERICA.