LEMON Manuals: Even more car manuals for everyone
Home >> Mitsubishi >> 2017 >> Mirage ES, Standard Trans >> Repair and Diagnosis >> External Pages >> Different variant/trim >> Section 1 (Continuously Variable Transaxle (CVT)) >> Diagnosis >> Diagnostic Trouble Code Procedures >> DTC P0791: Malfunction Of Secondary Pulley Speed Sensor >> LOGIC FLOW CHARTS (Monitor Sequence-Input Open Circuit)

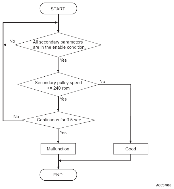
LOGIC FLOW CHARTS (Monitor Sequence-Input Open Circuit)

WARNING: This page is about a different variant/trim than selected.
Fig 1: Secondary Pulley Speed Sensor (Input Open Circuit) - DTC Flow Chart
G11278237Courtesy of MITSUBISHI MOTOR SALES OF AMERICA.