LEMON Manuals: Even more car manuals for everyone
Home >> Mitsubishi >> 2008 >> Lancer Evolution MR >> Repair and Diagnosis >> Engine Performance >> Ignition System - Lancer Evolution >> Ignition System >> General Information >> System Diagram

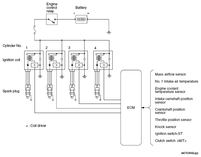
System Diagram

Fig 1: Ignition System Circuit Diagram
G05393751Courtesy of MITSUBISHI MOTOR SALES OF AMERICA.