LEMON Manuals: Even more car manuals for everyone
Home >> Mitsubishi >> 2007 >> Raider SE >> Repair and Diagnosis >> Engine Performance >> Engine Control Systems >> Electronic Control Modules >> Module - Anti-Lock Brakes >> Removal

Module - Anti-Lock Brakes: Removal

NOTE: If the ABM needs to be replaced, the rear axle type and tire revolutions per mile must be programed into the new ABM. For axle type, refer to appropriate REAR AXLE article. For tire revolutions per mile, (Refer to WHEEL AND TIRE/TIRES/SPECIFICATIONS/TIRE REVOLUTIONS PER MILE .) - To program the ABM refer to the Appropriate Diagnostic Service Information.
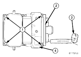
Fig 1: Identifying Module Mounting Screws, HCU And Pump Electrical Connector
G04853418Courtesy of MITSUBISHI MOTOR SALES OF AMERICA.
  1. Remove the HCU from the vehicle (Refer to ANTI-LOCK BRAKING SYSTEM/ABS SERVICE INFORMATION/HCU (HYDRAULIC CONTROL UNIT)/REMOVAL ).
  2. Remove the module mounting screws (1).
  3. Disconnect the pump electrical connector (3) from the HCU (2).
    Fig 2: Identifying Pump Electrical Connector And HCU
    G04853419Courtesy of MITSUBISHI MOTOR SALES OF AMERICA.
  4. Remove the module (1) from the HCU (2).