LEMON Manuals: Even more car manuals for everyone
Home >> Mitsubishi >> 2007 >> Raider SE >> Repair and Diagnosis >> Engine Performance >> Engine Control Systems >> Electronic Control Modules >> Diagnosis And Testing >> *No Response From FCM (Front Control Module) >> Diagnostic Test

Diagnostic Test

  1. TEST FOR INTERMITTENT CONDITION 
    1. Turn the ignition on.
      NOTE: Ensure the IOD fuse is installed and battery voltage is between 10.0 and 16.0 volts.
      NOTE: Ensure the scan tool is updated to the latest software.
      NOTE: If the scan tool displays any error messages involving the CAN C Diagnostic circuits, diagnose and repair the error message before proceeding. .
      NOTE: A loss of communication with the FCM can cause the ECU View button on the scan tool to be inoperative (not highlighted).
    2. With the scan tool, attempt to select ECU view.

    Q: Can the scan tool communicate with the FCM? 

    Yes : 

    • The no response condition is not present at this time. Using the wiring diagram/schematic as a guide, inspect the wiring for chafed, pierced, pinched, and partially broken wires and the wiring harness connectors for broken, bent, pushed out, and corroded terminals.

    No : 

    • Go To 2
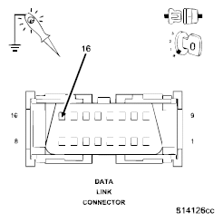
  2. (A918) FUSED B (+) CIRCUIT OPEN AT DLC 
    Fig 1: Checking Fused B (+) Circuit Open At DLC
    G04853383Courtesy of MITSUBISHI MOTOR SALES OF AMERICA.
    1. Disconnect the scan tool from the DLC.
      NOTE: Check IPM fuses before continuing.
    2. Using a 12-volt test light connected to ground, check the (A918) Fused B (+) circuit.

    Q: Does the test light illuminate brightly? 

    Yes : 

    • Go To 3

    No : 

    • Repair the (A918) Fused B (+) circuit for an open or short.
    • Perform BODY VERIFICATION TEST - VER 1 . (Refer to ELECTRONIC CONTROL MODULES/MODULE - FRONT CONTROL/DIAGNOSIS AND TESTING).
  3. (Z11) GROUND CIRCUIT OPEN AT DLC 
    Fig 2: Checking Ground Circuit Open At DLC
    G04853384Courtesy of MITSUBISHI MOTOR SALES OF AMERICA.
    1. Using a 12-volt test light connected to 12-volts, check the (Z11) ground circuit.

    Q: Does the test light illuminate brightly? 

    Yes : 

    • Go To 4

    No : 

    • Repair the (Z11) ground circuit for an open.
    • Perform BODY VERIFICATION TEST - VER 1 . (Refer to ELECTRONIC CONTROL MODULES/MODULE - FRONT CONTROL/DIAGNOSIS AND TESTING).
  4. GROUND CIRCUITS OPEN AT FCM C1 AND C2 CONNECTORS 
    Fig 3: Checking Ground Circuits Open At FCM C1 And C2 Connectors
    G04853385Courtesy of MITSUBISHI MOTOR SALES OF AMERICA.
    1. Disconnect the FCM C1 and C2 harness connectors.
    2. Using a 12-volt test light connected to 12-volts, check each ground circuit.

    Q: Does the test light illuminate brightly for each circuit? 

    Yes : 

    • Go To 5

    No : 

    • Repair the ground circuit for an open. Inspect the connector for damage.
    • Perform BODY VERIFICATION TEST - VER 1 . (Refer to ELECTRONIC CONTROL MODULES/MODULE - FRONT CONTROL/DIAGNOSIS AND TESTING).
  5. GROUND CIRCUITS OPEN AT FCM IPM CONNECTOR 
    Fig 4: Checking Ground Circuits Open At FCM IPM Connector
    G04853386Courtesy of MITSUBISHI MOTOR SALES OF AMERICA.
    1. Remove the FCM from the IPM.
    2. Using a 12-volt test light connected to 12-volts, check each ground circuit.

    Q: Does the test light illuminate brightly for each circuit? 

    Yes : 

    • Go To 6

    No : 

    • Repair the ground circuit for an open. Inspect the connector for damage.
    • Perform BODY VERIFICATION TEST - VER 1 . (Refer to ELECTRONIC CONTROL MODULES/MODULE - FRONT CONTROL/DIAGNOSIS AND TESTING).
  6. FUSED B (+) CIRCUITS OPEN AT FCM IPM CONNECTOR 
    Fig 5: Checking Fused B (+) Circuits Open At FCM IPM Connector
    G04853387Courtesy of MITSUBISHI MOTOR SALES OF AMERICA.
    NOTE: Check IPM fuses before continuing.
    1. Using a 12-volt test light connected to ground, check each Fused B (+) circuit.

    Q: Does the test light illuminate brightly for each circuit? 

    Yes : 

    • Replace and program the Front Control Module in accordance with the service information.
    • Perform BODY VERIFICATION TEST - VER 1 . (Refer to ELECTRONIC CONTROL MODULES/MODULE - FRONT CONTROL/DIAGNOSIS AND TESTING).

    No : 

    • Repair the Fused B (+) circuit for an open. Inspect the connector for damage. If OK, replace the Power Distribution Center (PDC) portion of the Integrated Power Module (IPM).
    • Perform BODY VERIFICATION TEST - VER 1 . (Refer to ELECTRONIC CONTROL MODULES/MODULE - FRONT CONTROL/DIAGNOSIS AND TESTING).