LEMON Manuals: Even more car manuals for everyone
Home >> Mitsubishi >> 2005 >> Lancer Evolution >> Repair and Diagnosis (Single Page) >> Accessories & Equipment >> Communication Devices >> Simplified Wiring System (SWS) - Evolution >> Symptom Procedures >> Ecu Communication System >> INSPECTION PROCEDURE A-2: Communication With The Column Switch (Column-ECU) Is Not Possible. >> Diagnosis

INSPECTION PROCEDURE A-2: Communication With The Column Switch (Column-ECU) Is Not Possible.: Diagnosis

Required Special Tools: 

  1. STEP 1. Use scan tool MB991958 to select "ECU COMM Check" on the SWS monitor display. 

    Check the following ECUs:

    • ETACS-ECU
    • Column-ECU
    CAUTION: To prevent damage to scan tool MB991958, always turn the ignition switch to the "LOCK" (OFF) position before connecting or disconnecting scan tool MB991958. Connect special tool MB991911 before connecting special tool MB991812. Be sure to connect special tool MB991806 after turning on special tool MB991824.
    1. Connect the special tool. Refer to "HOW TO CONNECT SWS MONITOR  ."
    2. Turn the ignition switch to the "LOCK" (OFF) position.
    3. Operate scan tool MB991958 according to the procedure below to display "ECU COMM Check."
      1. Select "Interactive Diagnosis."
      2. Select "System select."
      3. Select "SWS."
      4. Select "SWS MONITOR."
      5. Select "ECU COMM Check."
    4. Scan tool MB991958 should show "OK" on the "ECU COMM Check" menus for both the "ETACS ECU" and the "COLUMN ECU" menus.
      Fig 1: Connecting Special Tool To Data Link Connector
      G02399405Courtesy of MITSUBISHI MOTOR SALES OF AMERICA.

    Q: Is "OK" displayed on both the "ETACS ECU" and "COLUMN ECU" menus? 

  2. STEP 2. Check column switch connector C-206 for loose, corroded or damaged terminals, or terminals pushed back in the connector. 

    Q: Is column switch connector C-206 in good condition? 

    • YES :  Go to Step 3.
    • NO :  Repair or replace the damaged component(s). The system should communicate with the column switch (column-ECU) normally.
    Fig 2: Identifying Column Switch Connector C-206 Terminals
    G02399406Courtesy of MITSUBISHI MOTOR SALES OF AMERICA.
  3. STEP 3. Check the battery power supply circuit to the column switch. Measure the voltage at column switch connector C-206. 
    1. Disconnect column switch connector C-206 and measure the resistance available at the harness side of the connector.
      Fig 3: Identifying Column Switch Connector C-206
      G02399407Courtesy of MITSUBISHI MOTOR SALES OF AMERICA.
    2. Measure the voltage between terminal 1 and ground.
      • The voltage should equal approximately 12 volts (battery positive voltage).

    Q: Is the measured voltage approximately 12 volts (battery positive voltage)? 

    • YES :  Go to  Step 5.
    • NO :  Go to Step 4.
    Fig 4: Measuring Voltage Between Terminal 1 And Ground
    G02399408Courtesy of MITSUBISHI MOTOR SALES OF AMERICA.
  4. STEP 4. Check the wiring harness between column switch connector C-206 (terminal 1) and the battery. 
    Fig 5: Identifying Column Switch Connector C-206 Terminals
    G02399409Courtesy of MITSUBISHI MOTOR SALES OF AMERICA.
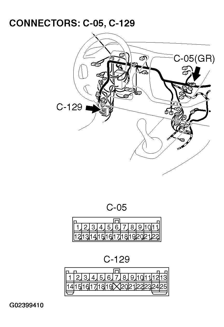
    NOTE: Also check joint connector C-05 and intermediate connector C-129 for loose, corroded, or damaged terminals, or terminals pushed back in the connector. If joint connector C-05 or intermediate connectors C-129 is damaged, repair or replace the damaged component(s) as described in HARNESS CONNECTOR INSPECTION .

    Q: Is the wiring harness between column switch connector C-206 (terminal 1) and the battery in good condition? 

    • YES :  No action is necessary and testing is complete.
    • NO :  The wiring harness may be damaged or the connector(s) may have loose, corroded or damaged terminals, or terminals pushed back in the connector. Repair the wiring harness as necessary. The system should communicate with the column switch (column-ECU) normally.
    Fig 6: Identifying Joint Connector C-05 And Intermediate Connector C-129 Terminals
    G02399410Courtesy of MITSUBISHI MOTOR SALES OF AMERICA.
  5. STEP 5. Check the ground circuit to the column switch. Measure the resistance at column switch connector C-206. 
    1. Disconnect column switch connector C-206 and measure the resistance available at the harness side of the connector.
      Fig 7: Identifying Column Switch Connector C-206
      G02399411Courtesy of MITSUBISHI MOTOR SALES OF AMERICA.
    2. Measure the resistance value between terminal 4 and ground.
      • The resistance should equal 2 ohms or less.

    Q: Is the measured resistance 2 ohms or less? 

    • YES :  Go to  Step 7.
    • NO :  Go to Step 6.
    Fig 8: Measuring Resistance Value Between Terminal 4 And Ground
    G02399412Courtesy of MITSUBISHI MOTOR SALES OF AMERICA.
  6. STEP 6. Check the wiring harness between column switch connector C-206 (terminal 4) and the ground. 
    Fig 9: Identifying Column Switch Connector C-206 Terminals
    G02399413Courtesy of MITSUBISHI MOTOR SALES OF AMERICA.
    NOTE: Also check joint connector C-06 for loose, corroded, or damaged terminals, or terminals pushed back in the connector. If joint connector C-06 is damaged, repair or replace the damaged component(s) as described in HARNESS CONNECTOR INSPECTION .

    Q: Is the wiring harness between column switch connector C-206 (terminal 4) and the ground in good condition? 

    • YES :  No action is necessary and testing is complete.
    • NO :  The wiring harness may be damaged or the connector(s) may have loose, corroded or damaged terminals, or terminals pushed back in the connector. Repair the wiring harness as necessary. The system should communicate with the column switch (column-ECU) normally.
    Fig 10: Identifying Column Switch Connector C-206 Terminals
    G02399414Courtesy of MITSUBISHI MOTOR SALES OF AMERICA.
  7. STEP 7. Check ETACS-ECU connector C-228 for loose, corroded or damaged terminals, or terminals pushed back in the connector. 

    Q: Is ETACS-ECU connector C-228 in good condition? 

    • YES :  Go to Step 8.
    • NO :  Repair or replace the damaged component(s). Refer to HARNESS CONNECTOR INSPECTION . The system should communicate with the column switch (column-ECU) normally.
    Fig 11: Identifying ETACS-ECU Connector C-228 Terminals
    G02399415Courtesy of MITSUBISHI MOTOR SALES OF AMERICA.
  8. STEP 8. Check the wiring harness between column switch connector C-206 (terminals 2 and 3) and ETACS-ECU connector C-228 (terminals 68 and 59). 
    Fig 12: Identifying Column Switch Connector C-206 Terminals
    G02399416Courtesy of MITSUBISHI MOTOR SALES OF AMERICA.
    Fig 13: Identifying ETACS-ECU Connector C-228 Terminals
    G02399417Courtesy of MITSUBISHI MOTOR SALES OF AMERICA.
    NOTE: Also check joint connector C-101 for loose, corroded, or damaged terminals, or terminals pushed back in the connector. If joint connector C-101 is damaged, repair or replace the damaged component(s) as described in HARNESS CONNECTOR INSPECTION .

    Q: Is the wiring harness between column switch connector C-206 (terminal 2 and 3) and ETACS-ECU connector C-228 (terminal 68 and 59) in good condition? 

    • YES :  Go to Step 9.
    • NO :  The wiring harness may be damaged or the connector(s) may have loose, corroded or damaged terminals, or terminals pushed back in the connector. Repair the wiring harness as necessary. The system should communicate with the column switch (column-ECU) normally.
    Fig 14: Identifying Joint Connector C-101 Terminals
    G02399418Courtesy of MITSUBISHI MOTOR SALES OF AMERICA.
  9. STEP 9. Replace the column switch. 
    1. Replace the column switch.
    2. The system should communicate with the column switch (column-ECU) normally.

    Q: Can the system communicate with the column switch (column-ECU)? 

    • YES :  No action is necessary and testing is complete.
    • NO :  Replace the ETACS-ECU. The system should communicate with the column switch (column-ECU) normally.