LEMON Manuals: Even more car manuals for everyone
Home >> Mitsubishi >> 2005 >> Lancer ES, Standard >> Repair and Diagnosis >> Restraints >> Restraints Control Systems >> Supplemental Restraints System -- Except Evolution >> SRS Air Bag Diagnosis >> Diagnostic Trouble Code Procedures >> DTC 76: Side-Airbag Module (RH) (Squib) System Fault Ground Circuit (Short-Circuited to Ground) >> Notes

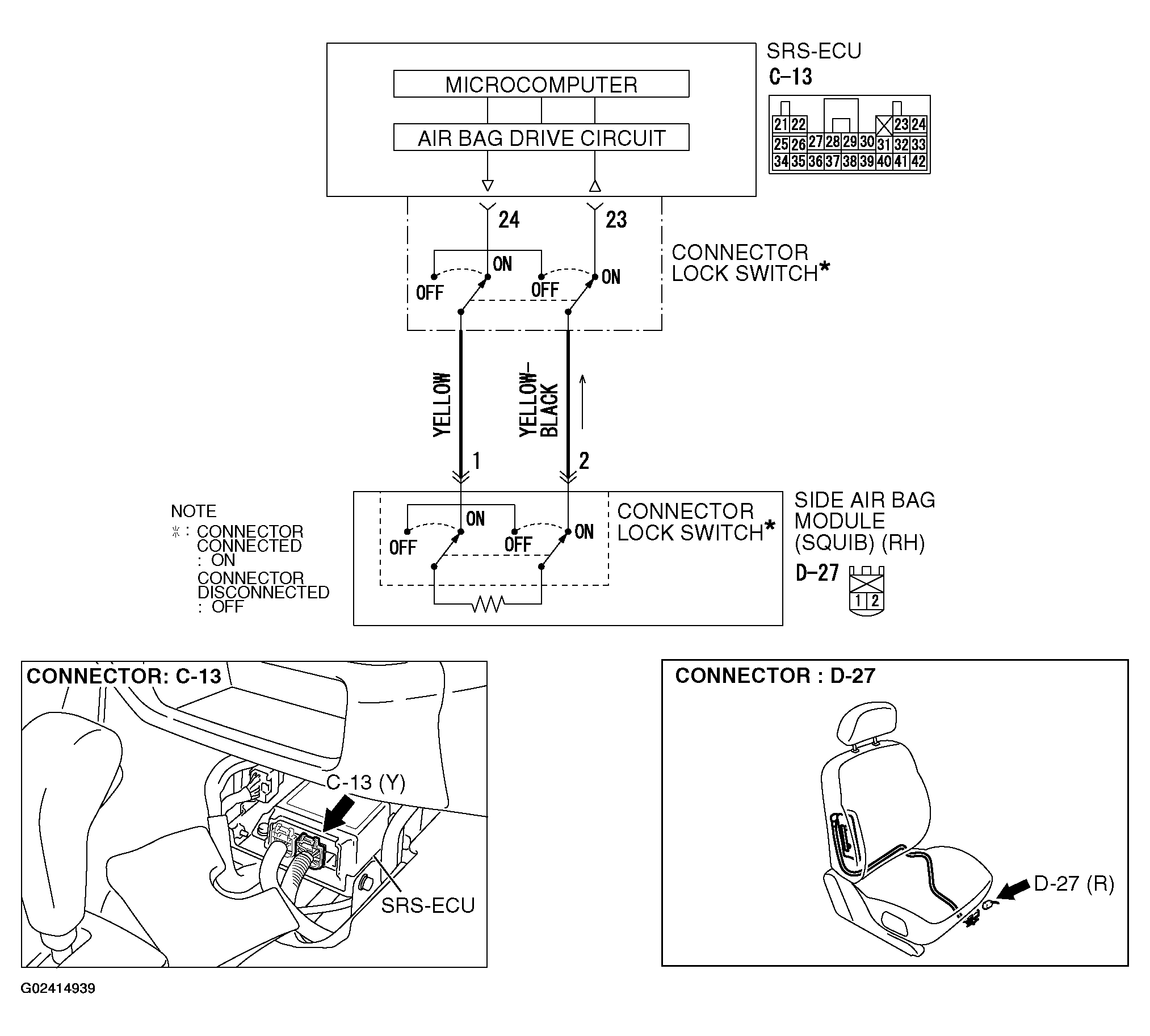
DTC 76: Side-Airbag Module (RH) (Squib) System Fault Ground Circuit (Short-Circuited to Ground): Notes

Fig 1: Side-Airbag Module (RH) (Squib) Circuit
G02414939Courtesy of MITSUBISHI MOTOR SALES OF AMERICA.