LEMON Manuals: Even more car manuals for everyone
Home >> Mitsubishi >> 2005 >> Lancer ES, Standard >> Repair and Diagnosis >> Restraints >> Restraints Control Systems >> Supplemental Restraints System -- Except Evolution >> SRS Air Bag Diagnosis >> Diagnostic Trouble Code Procedures >> DTC 72: Side-Airbag Module (RH) (Squib) System Fault 2 (Open in the Squib Circuit) >> Notes

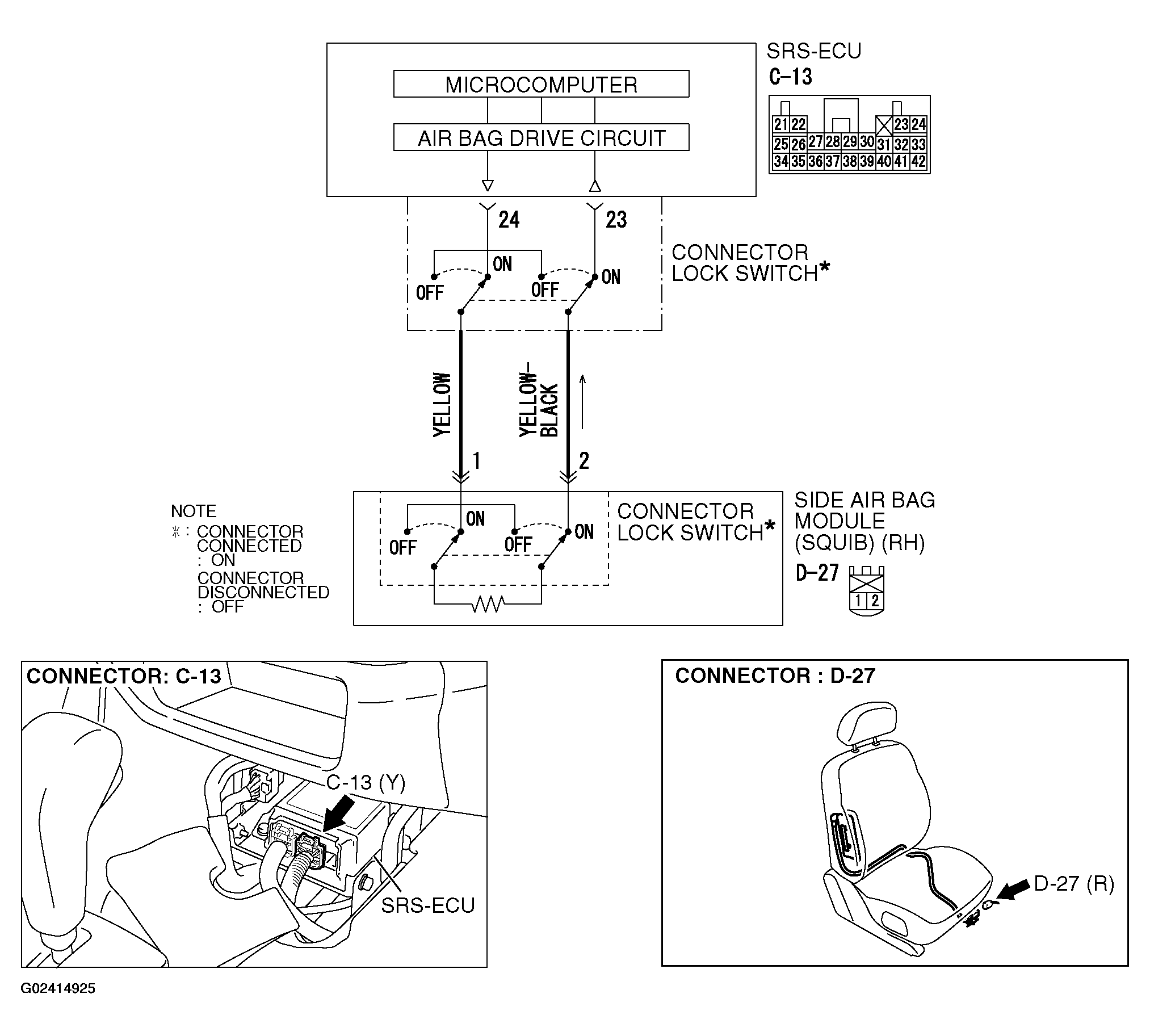
DTC 72: Side-Airbag Module (RH) (Squib) System Fault 2 (Open in the Squib Circuit): Notes

Fig 1: Side-Airbag Module (RH) (Squib) Circuit
G02414925Courtesy of MITSUBISHI MOTOR SALES OF AMERICA.