LEMON Manuals: Even more car manuals for everyone
Home >> Mitsubishi >> 2004 >> Lancer Evolution >> Repair and Diagnosis >> Engine Performance >> System >> Fuel Supply - Evolution >> Fuel Tank >> Fuel Pump Module Disassembly And Assembly >> < Fuel Pipe And Gauge Assembly>

< Fuel Pipe And Gauge Assembly>

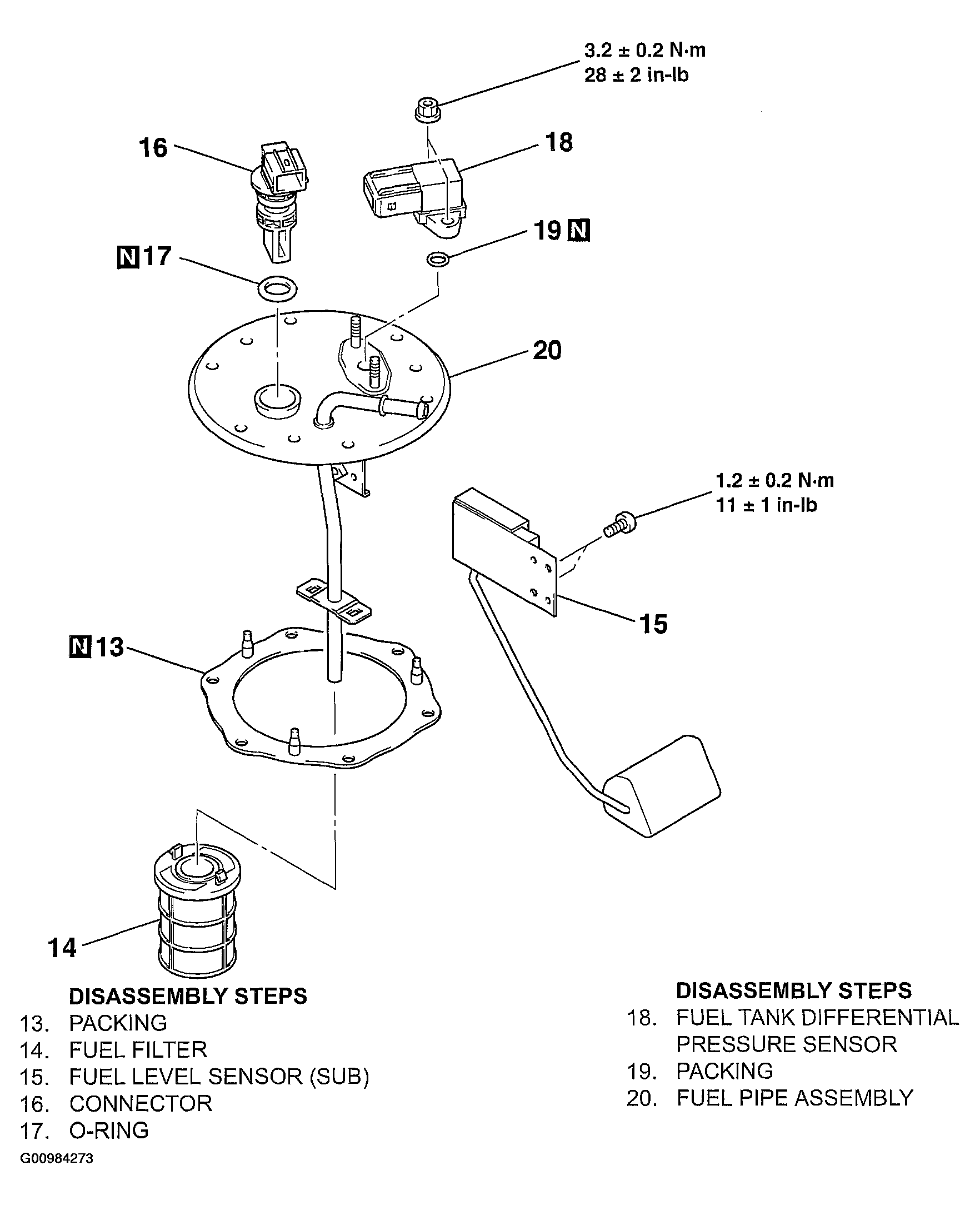
Fig 1: Exploded View Of Fuel Pipe And Gauge Assembly
G00984273Courtesy of MITSUBISHI MOTOR SALES OF AMERICA.