LEMON Manuals: Even more car manuals for everyone
Home >> Mitsubishi >> 2003 >> Lancer Evolution >> Repair and Diagnosis (Single Page) >> Electrical >> Wiring Diagrams >> OEM Connector End Views >> Connector End Views >> Powertrain Control Module Connector C-114 Connector End View (Except Evolution)

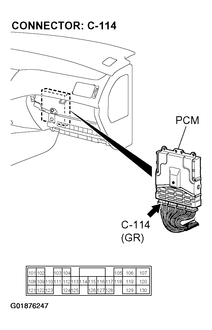
Powertrain Control Module Connector C-114 Connector End View (Except Evolution)

Fig 1: Powertrain Control Module Connector C-114 Connector End View (Except Evolution)
G01876247Courtesy of MITSUBISHI MOTOR SALES OF AMERICA.