LEMON Manuals: Even more car manuals for everyone
Home >> Mitsubishi >> 2002 >> Lancer ES, Standard >> Repair and Diagnosis >> Engine Performance >> System >> Engine Controls - Self-Diagnostics >> Verifying Repairs >> OBD-II Drive Cycles >> Catalytic Converter Monitor

Catalytic Converter Monitor

This monitor applies to DTC P0421. Following conditions must be met during the test:

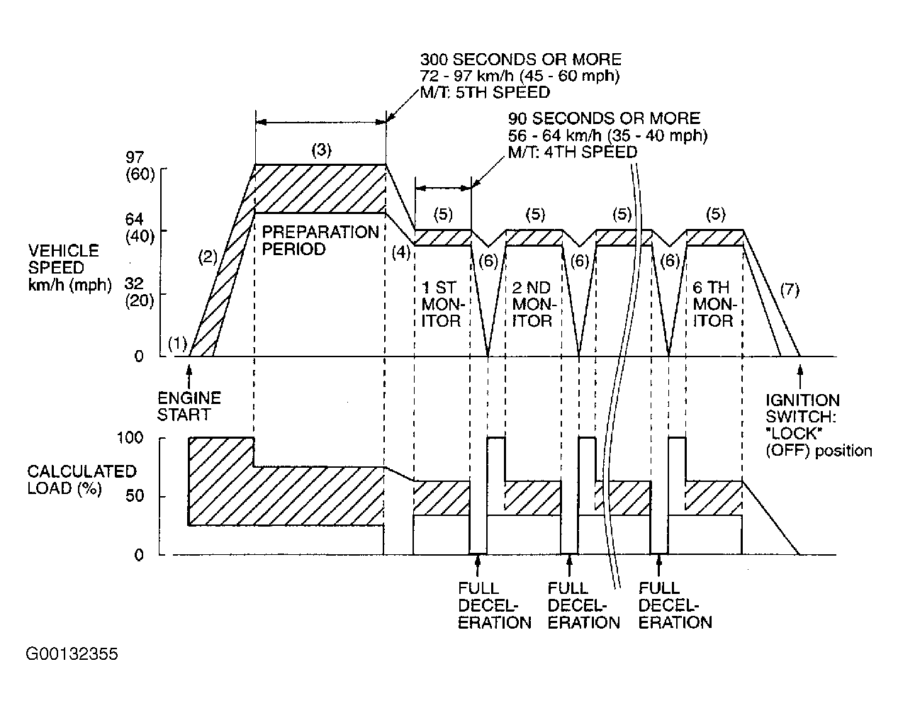
Monitor takes about 20 minutes to complete. To run monitor, use illustration. See Fig 1 . Perform steps as follows:

  1. Remove all test equipment from vehicle and install all components and connectors that were removed or disconnected during testing.
  2. Start engine.
  3. Accelerate vehicle to 45 MPH.
  4. Travel 300 seconds or more while keeping speed at 45-60 MPH. Use 5th gear on M/T.
  5. Decelerate to 35-40 MPH.
  6. While keeping accelerator pedal opening degree constant (use 4th gear on M/T), keep speed at 35-40 MPH for 90 seconds or more.
  7. Fully close throttle and decelerate for 10 seconds. Then, quickly accelerate until speed is 35-40 MPH. Then repeat steps  5 and  6 five more times.
  8. Return vehicle to shop. Turn engine off. Recheck for DTC(s). If any DTC(s) is set, diagnose affected DTC(s). See DIAGNOSTIC TROUBLE CODE DEFINITIONS  .

Fig 1: Running Catalytic Converter Monitor
G00132355Courtesy of MITSUBISHI MOTOR SALES OF AMERICA.