LEMON Manuals: Even more car manuals for everyone
Home >> Mitsubishi >> 2000 >> Eclipse GS, Automatic >> Repair and Diagnosis >> Engine Performance >> System >> Engine Controls - System & Component Testing >> Emission Systems & Sub-Systems >> Exhaust Gas RECIRCULATION (EGR) >> EGR Solenoid

EGR Solenoid

  1. Disconnect EGR solenoid electrical connector. Check resistance between EGR solenoid terminals. Resistance should be 29-35 ohms (Eclipse & Galant), or 36-44 ohms (Diamante, Mirage, Montero & Montero Sport), at 68°F (20°C).
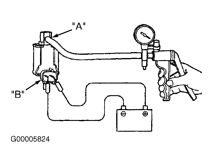
  2. Label and disconnect vacuum hoses from EGR solenoid. Connect hand vacuum pump to EGR solenoid port "A". See Fig 1. Apply vacuum. Vacuum should leak. Using battery voltage and ground, energize EGR solenoid. Apply vacuum. Vacuum should hold.
Fig 1: Testing EGR Solenoid (Typical)
G00005824Courtesy of MITSUBISHI MOTOR SALES OF AMERICA.