LEMON Manuals: Even more car manuals for everyone
Home >> Mitsubishi >> 1992 >> Expo Base, Standard >> Repair and Diagnosis >> Engine Performance >> System >> Engine Controls - Tests W/Codes >> Code Charts >> Dr-10A: Code 25, Testing Barometric Pressure Sensor

Dr-10A: Code 25, Testing Barometric Pressure Sensor

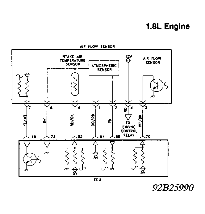
Fig 1: Test DR-10A Schematic (1.8L) - Code 25 Testing Barometric Pressure Sensor
G92B25990
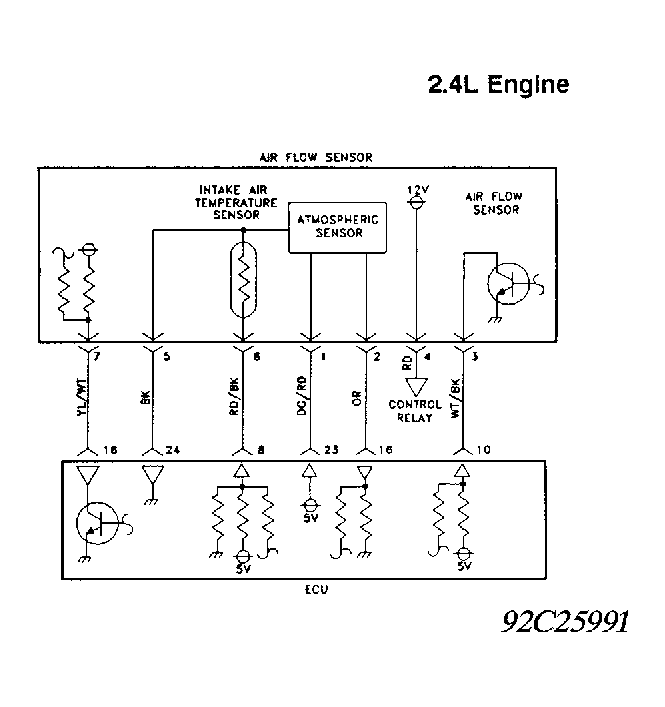
Fig 2: Test DR-10A Schematic (2.4L) - Code 25 Testing Barometric Pressure Sensor
G92C25991
Fig 3: Test DR-10A Flow Chart - Code 25 (1 Of 3) Testing Barometric Pressure Sensor
G92B26014
Fig 4: Test DR-10A Flow Chart - Code 25 (2 Of 3) Testing Barometric Pressure Sensor
G92C26015
Fig 5: Test DR-10A Flow Chart - Code 25 (3 Of 3) Testing Barometric Pressure Sensor
G92D26016