LEMON Manuals: Even more car manuals for everyone
Home >> Mitsubishi >> 1991 >> Eclipse Base, Standard >> Repair and Diagnosis >> Engine Performance >> System >> Engine Controls - Tests W/Codes >> Test Charts - 1.6L >> NS-5: Testing Control Relay Circuit

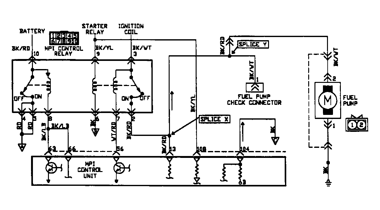
NS-5: Testing Control Relay Circuit

Fig 1: Circuit Diagram NS-5 (1.6L)
G90G15400
Fig 2: Flow Chart NS-5 (1.6L)
G90I19925