LEMON Manuals: Even more car manuals for everyone
Home >> Mitsubishi >> 1991 >> Eclipse Base, Automatic >> Repair and Diagnosis >> Engine Performance >> System >> Engine Controls - Tests W/Codes >> Test Charts - 1.8L >> Dr-4: Code 13 Intake Air Temperature Sensor Circuit

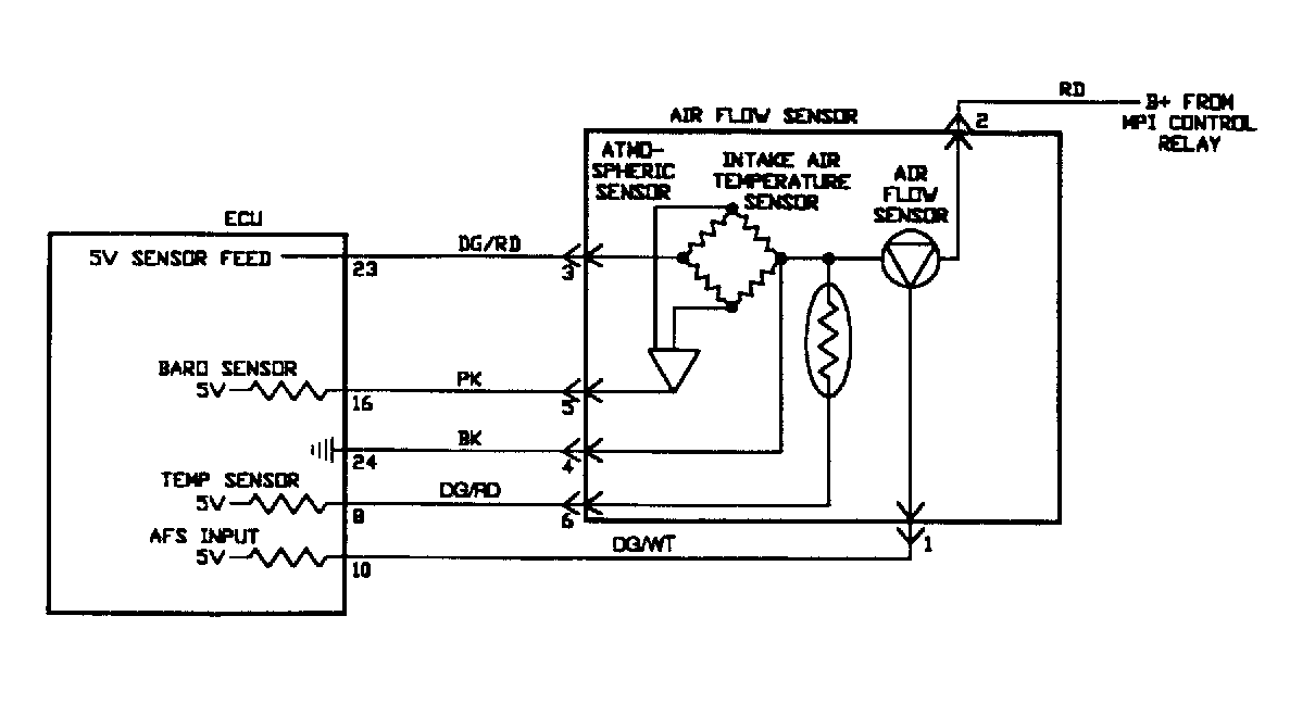
Dr-4: Code 13 Intake Air Temperature Sensor Circuit

Fig 1: Circuit Diagram DR-4 (1.8L)
G90G20145
Fig 2: Flow Chart DR-4 (1.8L)
G90J02094