LEMON Manuals: Even more car manuals for everyone
Home >> Mitsubishi >> 1991 >> Eclipse Base, Automatic >> Repair and Diagnosis >> Engine Performance >> System >> Engine Controls - Tests W/Codes >> Test Charts - 1.8L >> Dr-3: Code 12 Airflow Sensor Circuit

Dr-3: Code 12 Airflow Sensor Circuit

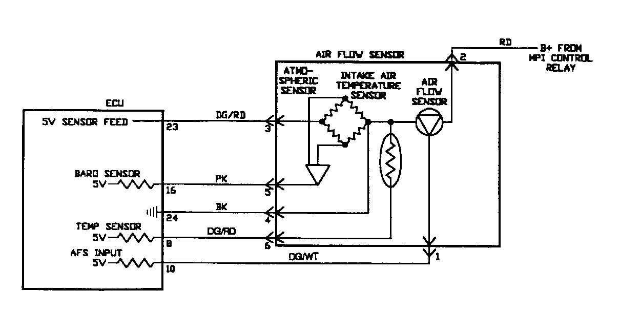
Fig 1: Circuit Diagram DR-3 (1.8L)
G90F20144
Fig 2: Flow Chart DR-3 (1.8L) (1 of 3)
G90D02091
Fig 3: Flow Chart DR-3 (1.8L) (2 of 3)
G90F02092
Fig 4: Flow Chart DR-3 (1.8L) (3 of 3)
G90H02093