LEMON Manuals: Even more car manuals for everyone
Home >> Mitsubishi >> 1991 >> Eclipse Base, Automatic >> Repair and Diagnosis >> Engine Performance >> System >> Engine Controls - Tests W/Codes - 1.8L >> Code Charts >> Dr-5A: Testing Throttle Position Sensor

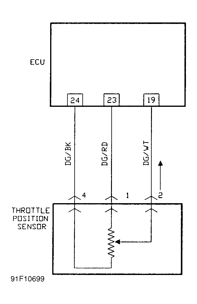
Dr-5A: Testing Throttle Position Sensor

Fig 1: Driveability Test DR-5A: Circuit Diagram
G91F10699
Fig 2: Driveability Test DR-5A: Diagnostic Flow Chart (1 of 2)
G91B10729
Fig 3: Driveability Test DR-5A: Diagnostic Flow Chart (2 of 2)
G91E10730