LEMON Manuals: Even more car manuals for everyone
Home >> Mini >> 2023 >> Cooper Base, 2D Convertible, Standard Trans >> Repair and Diagnosis >> Engine Performance >> Engine Control Systems >> Technical Data -- (F57) >> 51 Body Equipment Technical Data >> 5100 General Body Equipment Technical Data

5100 General Body Equipment Technical Data

5100 TECHNICAL DATA OVERVIEW

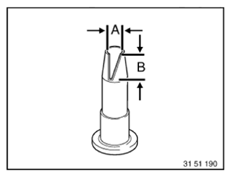
Dimension of adhesive bead 
Use standard nozzle C. 8 +1-1 mm
G13824273Courtesy of BMW OF NORTH AMERICA, INC.
12 +1-1 mm