LEMON Manuals: Even more car manuals for everyone
Home >> Mini >> 2013 >> Cooper Base, 2D Convertible, Automatic Trans >> Repair and Diagnosis >> External Pages >> Different car >> Section 878 (General Electrical System - Repair) >> Plug Connection, Terminals >> 61 13... Repairing ribbon cables

61 13... Repairing ribbon cables

WARNING: This page does not describe the selected car, but rather 6 other vehicles, including the 2008 BMW Z4, 2007 BMW Z4, 2006 BMW Z4, 2005 BMW Z4, and 2004 BMW Z4. However, it is still accessible from the selected car via links, so may be relevant.

Special Tools Required: 

Place ribbon cables (1) in connector housing (2) and close cover (3).

Fig 1: Identifying Special Tools 61 1 190
G03298473Courtesy of BMW OF NORTH AMERICA, INC.

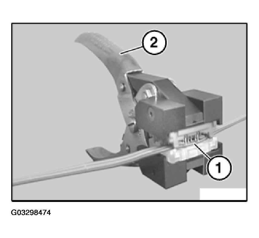
Place connector housing (1) in pliers (2) 61 1 190.

Close pliers (2).

Fig 2: Placing Connector Housing In Pliers 61 1 190
G03298474Courtesy of BMW OF NORTH AMERICA, INC.