LEMON Manuals: Even more car manuals for everyone
Home >> Mini >> 2013 >> Cooper Base, 2D Convertible, Automatic Trans >> Repair and Diagnosis >> External Pages >> Different car >> Section 807 (General Electrical System - Repair) >> Relays >> 61 13... Relay carrier

61 13... Relay carrier

WARNING: This page does not describe the selected car, but rather 16 other vehicles, including the 2006 BMW 330Ci, 2005 BMW 330xi, 2005 BMW 330i, 2005 BMW 330Ci, and 2004 BMW 330xi. However, it is still accessible from the selected car via links, so may be relevant.

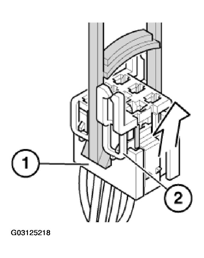
Place special tool 61 1 153 on relay carrier (1) and carefully pull in direction of arrow until retaining lugs (2) on relay carrier are raised.

Fig 1: Pulling Relay Carrier
G03125218Courtesy of BMW OF NORTH AMERICA, INC.

Pull relay carrier (2) in direction of arrow into first catch (3).

Fig 2: Pulling Relay Carrier Into First Catch
G03125219Courtesy of BMW OF NORTH AMERICA, INC.

Press down arrester hook (4) of appropriate contact and pull out cable with contact.

Press out double flat spring contact with special tool 61 1 136 or 61 1 137 (ejector).

Fig 3: Removing Cable From Relay Carrier
G03125220Courtesy of BMW OF NORTH AMERICA, INC.