LEMON Manuals: Even more car manuals for everyone
Home >> Mini >> 2013 >> Cooper Base, 2D Convertible, Automatic Trans >> Repair and Diagnosis >> External Pages >> Different car >> Section 807 (General Electrical System - Repair) >> Plug Connection Time >> 61 13... Repairing ribbon cables >> Special tools required:

Special tools required:

WARNING: This page does not describe the selected car, but rather 16 other vehicles, including the 2006 BMW 330Ci, 2005 BMW 330xi, 2005 BMW 330i, 2005 BMW 330Ci, and 2004 BMW 330xi. However, it is still accessible from the selected car via links, so may be relevant.

Place ribbon cables (1) in connector housing (2) and close cover (3).

Fig 1: Placing Ribbon Cables In Connector Housing
G03125148Courtesy of BMW OF NORTH AMERICA, INC.

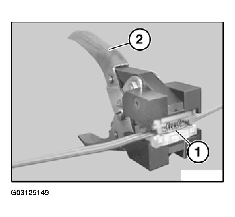
Place connector housing (1) in pliers (2) 61 1 190. Close pliers (2).

Fig 2: Placing Connector Housing In Pliers
G03125149Courtesy of BMW OF NORTH AMERICA, INC.