LEMON Manuals: Even more car manuals for everyone
Home >> Mini >> 2013 >> Cooper Base, 2D Convertible, Automatic Trans >> Repair and Diagnosis >> External Pages >> Different car >> Section 573 (General Electrical System - Repair) >> 13 Plug Connection, Terminals, Fuse Box >> 61 13... Relay Carrier

61 13... Relay Carrier

WARNING: This page does not describe the selected car, but rather 6 other vehicles, including the 2008 BMW 760Li, 2007 BMW 760Li, 2006 BMW 760Li, 2005 BMW 760Li, and 2004 BMW 760Li. However, it is still accessible from the selected car via links, so may be relevant.

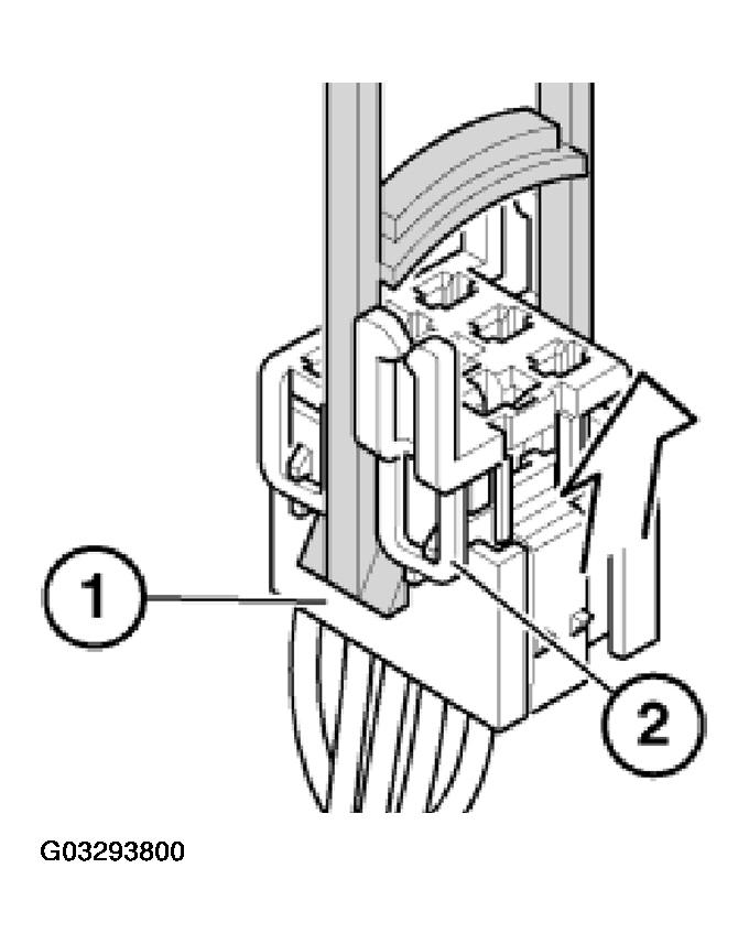
Place special tool 61 1 153 on relay carrier (1) and carefully pull in direction of arrow until retaining lugs (2) on relay carrier are raised.

Fig 1: Special Tool (61 1 153), Relay Carrier, Retaining Lugs Nad Removal Direction
G03293800Courtesy of BMW OF NORTH AMERICA, INC.

Pull relay carrier (2) in direction of arrow into first catch (3).

Fig 2: Relay Carrier And First Catch
G03293801Courtesy of BMW OF NORTH AMERICA, INC.

Press down arrester hook (4) of appropriate contact and pull out cable with contact.

Press out double flat spring contact with special tool 61 1 136 or 61 1 137 (ejector).

Fig 3: Special Tool (61 1 137)/(61 1 136) and Arrester Hook
G03293802Courtesy of BMW OF NORTH AMERICA, INC.