LEMON Manuals: Even more car manuals for everyone
Home >> Mini >> 2013 >> Cooper Base, 2D Convertible, Automatic Trans >> Repair and Diagnosis >> External Pages >> Different car >> Section 565 (Steering And Wheel Alignment - Repair) >> 41 Pump And Oil Supply >> 32 41... Notes On Hydraulic Line With Quick-Release Coupling

32 41... Notes On Hydraulic Line With Quick-Release Coupling

WARNING: This page does not describe the selected car, but rather 9 other vehicles, including the 2008 BMW 760Li, 2007 BMW 760Li, 2006 BMW 760i, 2006 BMW 760Li, and 2005 BMW 760i. However, it is still accessible from the selected car via links, so may be relevant.
  1. Quick-Release Coupling With ID Marking: 
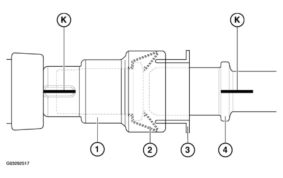
    Fig 1: Quick-Release Coupling Components And ID Markings
    G03292517Courtesy of BMW OF NORTH AMERICA, INC.

    Removing: 

    Push quick-release coupling (1) against pipe (4) (thereby relieving strain on spring (2)).

    Press plastic ring (3) into quick-release coupling (1) and remove coupling (1).

    Assembly: 

    Markings (K) on coupling (1) and pipe (4) must be flush.

    Push quick-release coupling (1) onto pipe (4) until a "click" can clearly be heard.

    To check that quick-release coupling (1) has been installed correctly, pull it back forcefully.

  2. Quick-Release Coupling With Indication Pins: 
    Fig 2: Quick-Release Coupling Components And Indication Pins
    G03292518Courtesy of BMW OF NORTH AMERICA, INC.

Removing: 

Press plastic ring (2) into quick-release coupling (1) and remove coupling (1).

Assembly: 

Push quick-release coupling (1) onto connector (3) until both indication pins (4) can be seen and felt to point outwards at outside diameter of housing.

To check that quick-release coupling (1) has been correctly fitted, feel indication pins (4) at outside diameter of housing. When correctly seated, indication pins (4) cannot be pressed into housing.

IMPORTANT: Coupling is not correctly engaged if both indication pins (4) fail to protrude from housing. Leakage is thus unavoidable.