LEMON Manuals: Even more car manuals for everyone
Home >> Mini >> 2013 >> Cooper Base, 2D Convertible, Automatic Trans >> Repair and Diagnosis >> External Pages >> Different car >> Section 565 (Steering And Wheel Alignment - Repair) >> 00 Electronic Chassis Alignment >> 32 00... General Information And Definitions

32 00... General Information And Definitions

WARNING: This page does not describe the selected car, but rather 9 other vehicles, including the 2008 BMW 760Li, 2007 BMW 760Li, 2006 BMW 760i, 2006 BMW 760Li, and 2005 BMW 760i. However, it is still accessible from the selected car via links, so may be relevant.

Toe Angle Difference: 

The toe angle difference is the angle adjustment of the inner cornering wheel relative to the outer cornering wheel when negotiating a curve. Steering is designed in such a way that angular position of wheels changes as steering lock progresses.

A correctly adjusted toe angle difference produces equal values for left and right lock with consideration of factory tolerances. Toe angle difference provides information on corresponding operation of steering trapezoid for left or right steering lock from center position.

Fig 1: Toe Angle Difference
G03292439Courtesy of BMW OF NORTH AMERICA, INC.

Camber: 

Inclination of the wheel from the perpendicular.

Fig 2: Camber
G03292440Courtesy of BMW OF NORTH AMERICA, INC.

Toe: 

Reduction in distance of front of front wheels to rear of front wheels. The toe-in prevents the wheels from moving apart during driving and thus:

Measurement is performed in "straight-ahead mode".

Fig 3: Measurement In Straight-Ahead Mode
G03292441Courtesy of BMW OF NORTH AMERICA, INC.

Caster: 

Is the inclination of the kingpin in the direction of travel viewed from the side. The line through the center point of the spring strut support bearing and the control arm ball joint corresponds to the "kingpin".

Thanks to caster, wheels are pulled and not pushed. In a similar manner to king pin inclination, when driving in curves or around corners, returning forces are reproduced to help return wheels to straight-ahead position.

Fig 4: Caster
G03292442Courtesy of BMW OF NORTH AMERICA, INC.

Geometrical Axis 1: 

Is the angle bisector from the total rear-wheel toe.

Front-wheel measurements are taken in reference to this axis.

Symmetrical Axis 2: 

Center line running through front and rear axles.

Fig 5: Geometrical Axis And Symmetrical Axis
G03292443Courtesy of BMW OF NORTH AMERICA, INC.

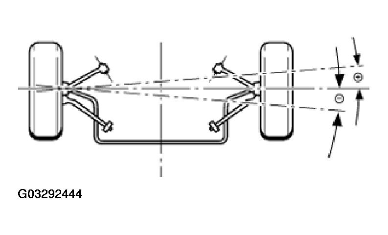
Wheel Offset: 

Angle by which one front wheel is displaced more towards front or rear than the other front wheel.

Fig 6: Wheel Offset
G03292444Courtesy of BMW OF NORTH AMERICA, INC.

Kingpin Offset/Scrub Radius: 

Is the distance from the center of the wheel contact face to the intersection point of the kingpin extension. The line through the center point of the spring strut support bearing and the control arm ball joint corresponds to the "kingpin".

The scrub radius is influenced by camber, kingpin angle and wheel offset of the wheel rim.

Fig 7: Kingpin Offset/Scrub Radius
G03292445Courtesy of BMW OF NORTH AMERICA, INC.