LEMON Manuals: Even more car manuals for everyone
Home >> Mini >> 2013 >> Cooper Base, 2D Convertible, Automatic Trans >> Repair and Diagnosis >> External Pages >> Different car >> Section 423 (General Electrical System - Repair) >> Plug Connection Terminal >> 61 13 ... Repairing ribbon cables

61 13 ... Repairing ribbon cables

WARNING: This page does not describe the selected car, but rather 7 other vehicles, including the 2010 BMW M6, 2009 BMW M6, 2008 BMW M6, 2007 BMW M6, and 2006 BMW M6. However, it is still accessible from the selected car via links, so may be relevant.

Special tools required: 

NOTE: For special tools, refer to BODY ELECTRICAL - SPECIAL TOOLS - 645CI (E63) .

Place ribbon cables (1) in connector housing (2) and close cover (3).

Fig 1: Placing Ribbon Cables In Connector Housing
G03288125Courtesy of BMW OF NORTH AMERICA, INC.

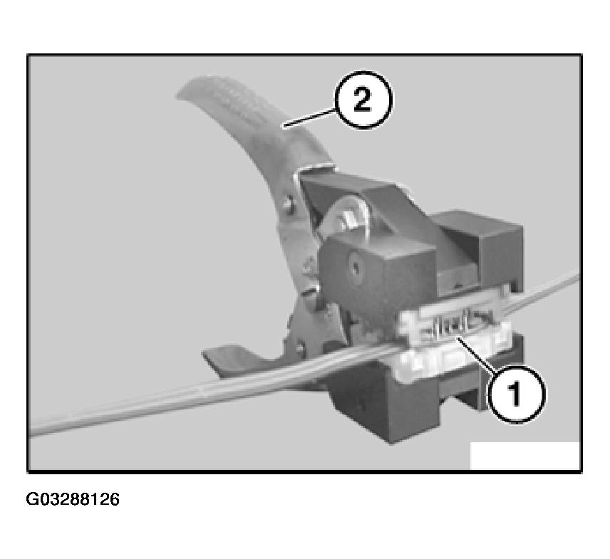
Place connector housing (1) in pliers (2) 61 1 190.

Close pliers (2).

Fig 2: Placing Connector Housing In Pliers
G03288126Courtesy of BMW OF NORTH AMERICA, INC.