LEMON Manuals: Even more car manuals for everyone
Home >> Mini >> 2013 >> Cooper Base, 2D Convertible, Automatic Trans >> Repair and Diagnosis >> External Pages >> Different car >> Section 415 (Steering And Wheel Alignment - Repair) >> Pump and oil Supply >> 32 41 ... Notes on hydraulic line with quick-release coupling

32 41 ... Notes on hydraulic line with quick-release coupling

WARNING: This page is about a different car, the 2005 BMW 645Ci and 2004 BMW 645Ci. However, it is still accessible from the selected car via links, so may be relevant.
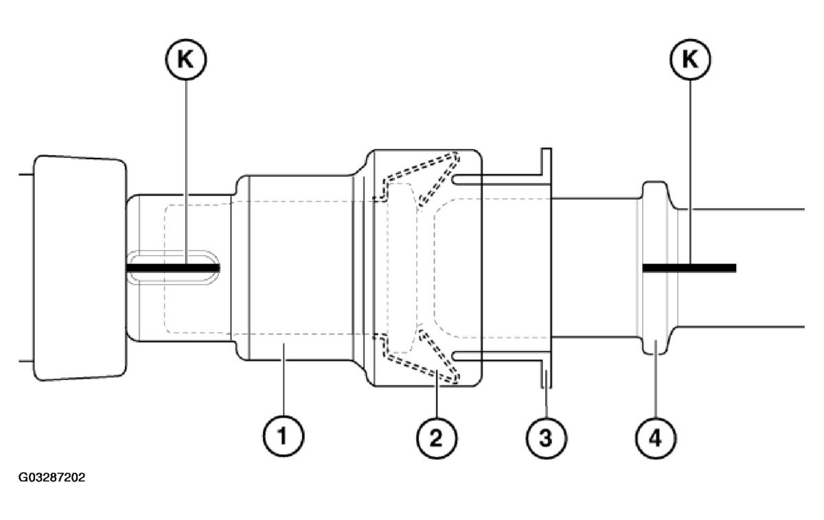
  1. Quick-release coupling with ID marking 
    Fig 1: Identifying Quick-Release Coupling With ID
    G03287202Courtesy of BMW OF NORTH AMERICA, INC.

    Removing: 

    Push quick-release coupling (1) against pipe (4) (thereby relieving strain on spring (2)).

    Press plastic ring (3) into quick-release coupling (1) and remove coupling (1).

    Installing: 

    Markings (K) on coupling (1) and pipe (4) must be flush.

    Push quick-release coupling (1) onto pipe (4) until a "click" can clearly be heard.

    To check that quick-release coupling (1) has been installed correctly, pull it back forcefully.

  2. Quick-release coupling with indication pins 
    Fig 2: Identifying Quick-Release Coupling With Indication Pins
    G03287203Courtesy of BMW OF NORTH AMERICA, INC.

    Removing: 

    Press plastic ring (2) into quick-release coupling (1) and remove coupling (1).

    Installing: 

    Push quick-release coupling (1) onto connector (3) until both indication pins (4) can be seen and felt to point outwards at outside diameter of housing.

    To check that quick-release coupling (1) has been correctly fitted, feel indication pins (4) at outside diameter of housing. When correctly seated, indication pins (4) cannot be pressed into housing.

    CAUTION: Coupling is not correctly engaged if both indication pins (4) fail to protrude from housing. Leakage is thus unavoidable.