LEMON Manuals: Even more car manuals for everyone
Home >> Mini >> 2013 >> Cooper Base, 2D Convertible, Automatic Trans >> Repair and Diagnosis >> External Pages >> Different car >> Section 390 (Steering And Wheel Alignment - Repair) >> Pump And Oil Supply >> 32 41... Notes on hydraulic line with quick-release coupling

32 41... Notes on hydraulic line with quick-release coupling

WARNING: This page does not describe the selected car, but rather 8 other vehicles, including the 2007 BMW 530i, 2007 BMW 525i, 2006 BMW 530i, 2006 BMW 525i, and 2005 BMW 530i. However, it is still accessible from the selected car via links, so may be relevant.
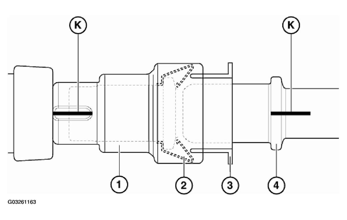
  1. Quick-release coupling with ID marking 
    Fig 1: Identifying Quick-Release Coupling With Id Marking
    G03261163Courtesy of BMW OF NORTH AMERICA, INC.

    Removing: 

    Push quick-release coupling (1) against pipe (4) (thereby relieving strain on spring (2).

    Press plastic ring (3) into quick-release coupling (1) and remove coupling (1).

    Installing: 

    Markings (K) on coupling (1) and pipe (4) must be flush.

    Push quick-release coupling (1) onto pipe (4) until a "click" can clearly be heard.

    To check that quick-release coupling (1) has been installed correctly, pull it back forcefully.

  2. Quick-release coupling with indication pins 
Fig 2: Identifying Quick-Release Coupling With Indication Pins
G03261164Courtesy of BMW OF NORTH AMERICA, INC.

Removing: 

Press plastic ring (2) into quick-release coupling (1) and remove coupling (1).

Installing: 

Push quick-release coupling (1) onto connector (3) until both indication pins (4) can be seen and felt to point outwards at outside diameter of housing.

To check that quick-release coupling (1) has been correctly fitted, feel indication pins (4) at outside diameter of housing. When correctly seated, indication pins (4) cannot be pressed into housing.

CAUTION: Coupling is not correctly engaged if both indication pins (4) fail to protrude from housing. Leakage is thus unavoidable.