LEMON Manuals: Even more car manuals for everyone
Home >> Mini >> 2013 >> Cooper Base, 2D Convertible, Automatic Trans >> Repair and Diagnosis >> External Pages >> Different car >> Section 3673 (Steering And Wheel Alignment - Repair) >> Pump And Oil Supply >> 32 41... Notes on hydraulic line with quick-connect coupling >> Assembly

32 41... Notes on hydraulic line with quick-connect coupling: Assembly

WARNING: This page does not describe the selected car, but rather 7 other vehicles, including the 2016 BMW 760Li, 2015 BMW 760Li, 2014 BMW 760Li, 2013 BMW 760Li, and 2012 BMW 760Li. However, it is still accessible from the selected car via links, so may be relevant.

Markings (K) on coupling (1) and pipe (4) must be flush.

Push quick-connect coupling (1) onto pipe (4) until a "click" can clearly be heard.

To check that quick-connect coupling (1) has been installed correctly, pull it back forcefully.

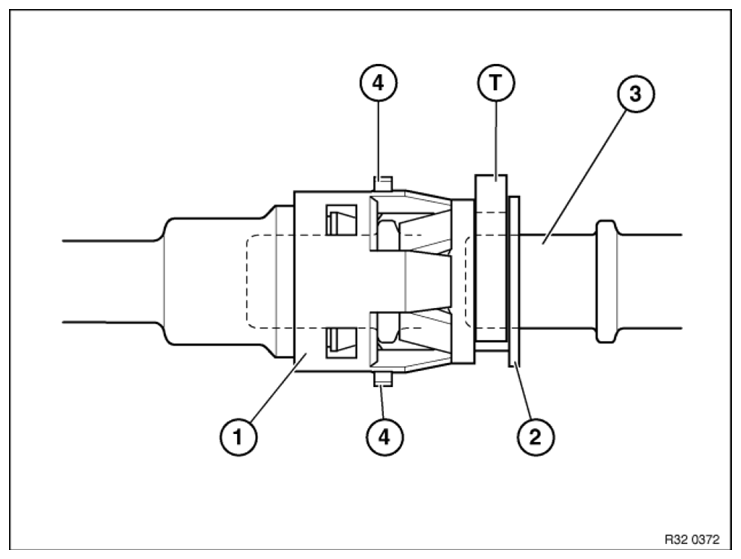
2) Quick-connect coupling with indication pins

Fig 1: Identifying Quick-Connect Coupling With Indication Pins
G08470458Courtesy of BMW OF NORTH AMERICA, INC.


When replacing hydraulic line: remove transportation lock (T).

Push quick-connect coupling (1) onto pipe (3) until both indication pins (4) can be seen and felt to point outwards at outside diameter of housing.

To check that quick-connect coupling (1) has been correctly fitted, feel indication pins (4) at outside diameter of housing. When correctly seated, indication pins (4) cannot be pressed into housing.

IMPORTANT: Coupling is not correctly engaged if both indication pins (4) fail to protrude from housing. Leakage is thus unavoidable.