LEMON Manuals: Even more car manuals for everyone
Home >> Mini >> 2013 >> Cooper Base, 2D Convertible, Automatic Trans >> Repair and Diagnosis >> External Pages >> Different car >> Section 3533 (General Electrical System - Repair) >> Plug Connection, Terminal, Fuse Box >> 61 13... Crimping stop parts >> 4. Checking crimping

4. Checking crimping

WARNING: This page is about a different car, the 2013 BMW X5 M, 2012 BMW X5 M, 2011 BMW X5 M, and 2010 BMW X5 M. However, it is still accessible from the selected car via links, so may be relevant.

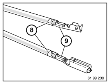
Check insulation crimping (8) and wire crimp (9) against following illustrations to ensure crimps are correctly located.

NOTE: Illustration shows butt connectors and contact sleeves for comb connectors knocked on one side. The crimping procedure is identical here.
Fig 1: Checking Insulation Crimping And Wire Crimp
G08530344Courtesy of BMW OF NORTH AMERICA, INC.

Correct crimping: 

Visible conductor end (10).

Visible insulation end (11).

Fig 2: Identifying Visible Conductor End And Visible Insulation End
G08530345Courtesy of BMW OF NORTH AMERICA, INC.

Incorrect crimping: 

Conductor end (10) inserted too far.

Insulation end (11) in wire crimp.

If necessary, repeat crimping with a new contact.

Fig 3: Identifying Incorrect Crimping (Conductor End Inserted Too Far)
G08530346Courtesy of BMW OF NORTH AMERICA, INC.

Incorrect crimping: 

Conductor end (10) not visible.

Insulation end (11) not visible.

If necessary, repeat crimping with a new contact.

Fig 4: Identifying Incorrect Crimping (Conductor End Not Visible)
G08530347Courtesy of BMW OF NORTH AMERICA, INC.