LEMON Manuals: Even more car manuals for everyone
Home >> Mini >> 2013 >> Cooper Base, 2D Convertible, Automatic Trans >> Repair and Diagnosis >> External Pages >> Different car >> Section 3497 (Steering And Wheel Alignment - Repair) >> Pump And Oil Supply >> 32 41... Notes on hydraulic line with quick-connect coupling

32 41... Notes on hydraulic line with quick-connect coupling

WARNING: This page is about a different car, the 2013 BMW X5 M, 2012 BMW X5 M, 2011 BMW X5 M, and 2010 BMW X5 M. However, it is still accessible from the selected car via links, so may be relevant.
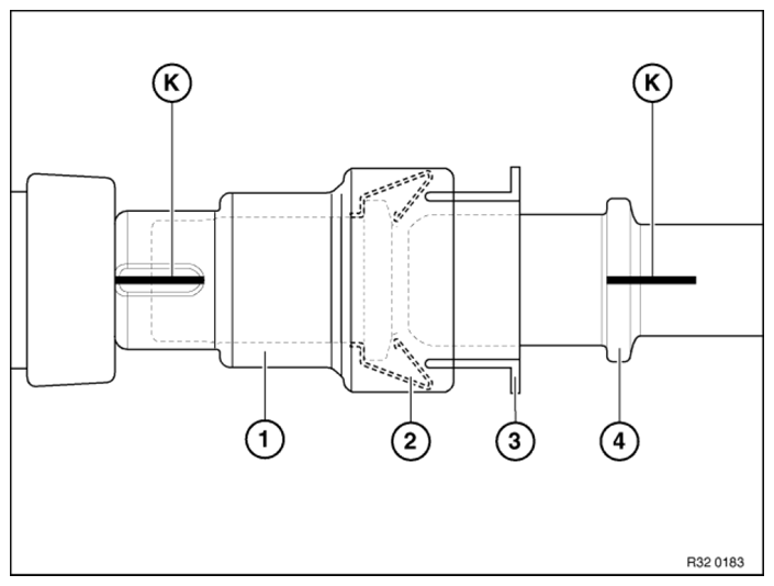
  1. Quick-connect coupling with ID marking 
    Fig 1: Identifying Quick-Connect Coupling With ID Marking
    G08527833Courtesy of BMW OF NORTH AMERICA, INC.

Removing 

Push quick-connect coupling (1) against pipe (4) (thereby relieving strain on spring (2)).

Press plastic ring (3) into quick-connect coupling (1) and remove coupling (1).

Assembly 

Markings (K) on coupling (1) and pipe (4) must be flush.

Push quick-connect coupling (1) onto pipe (4) until a "click" can clearly be heard.

To check that quick-connect coupling (1) has been installed correctly, pull it back forcefully.

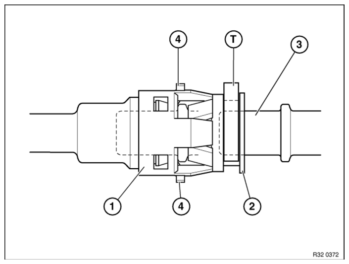
  1. 2) Quick-connect coupling with indication pins 
    Fig 2: Identifying Quick-Connect Coupling With Indication Pins
    G08527834Courtesy of BMW OF NORTH AMERICA, INC.

Removing 

Press plastic ring (2) into quick-connect coupling (1) and remove coupling (1).

Assembly 

When replacing hydraulic line: remove transportation lock (T).

Push quick-connect coupling (1) onto pipe (3) until both indication pins (4) can be seen and felt to point outwards at outside diameter of housing.

To check that quick-connect coupling (1) has been correctly fitted, feel indication pins (4) at outside diameter of housing. When correctly seated, indication pins (4) cannot be pressed into housing.

IMPORTANT: Coupling is not correctly engaged if both indication pins (4) fail to protrude from housing. Leakage is thus unavoidable.