LEMON Manuals: Even more car manuals for everyone
Home >> Mini >> 2013 >> Cooper Base, 2D Convertible, Automatic Trans >> Repair and Diagnosis >> External Pages >> Different car >> Section 305 (Steering And Wheel Alignment - Repair) >> Pump and Oil Supply >> 32 41... Notes on hydraulic line with quick-release coupling

32 41... Notes on hydraulic line with quick-release coupling

WARNING: This page is about a different car, the 2005 BMW 545i and 2004 BMW 545i. However, it is still accessible from the selected car via links, so may be relevant.
  1. Quick-Release Coupling With ID Marking: 
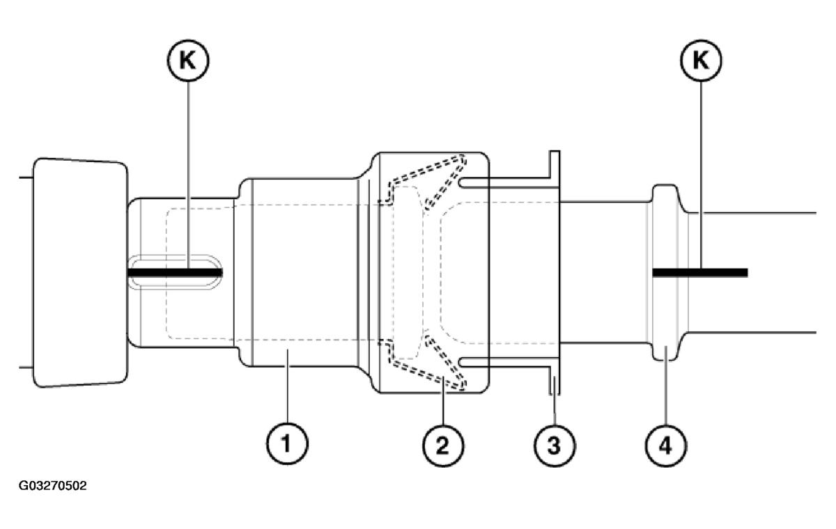
    Fig 1: Identifying Quick-Release Coupling With ID Marking
    G03270502Courtesy of BMW OF NORTH AMERICA, INC.

    Removing: 

    Push quick-release coupling (1) against pipe (4) (thereby relieving strain on spring (2)).

    Press plastic ring (3) into quick-release coupling (1) and remove coupling (1).

    Installing: 

    Markings (K) on coupling (1) and pipe (4) must be flush.

    Push quick-release coupling (1) onto pipe (4) until a "click" can clearly be heard.

    To check that quick-release coupling (1) has been installed correctly, pull it back forcefully.

  2. Quick-Release Coupling With Indication Pins: 
    Fig 2: Identifying Quick-Release Coupling With Indication Pins
    G03270503Courtesy of BMW OF NORTH AMERICA, INC.

Removing: 

Press plastic ring (2) into quick-release coupling (1) and remove coupling (1).

Installing: 

Push quick-release coupling (1) onto connector (3) until both indication pins (4) can be seen and felt to point outwards at outside diameter of housing.

To check that quick-release coupling (1) has been correctly fitted, feel indication pins (4) at outside diameter of housing. When correctly seated, indication pins (4) cannot be pressed into housing.

IMPORTANT: Coupling is not correctly engaged if both indication pins (4) fail to protrude from housing. Leakage is thus unavoidable.