LEMON Manuals: Even more car manuals for everyone
Home >> Mini >> 2013 >> Cooper Base, 2D Convertible, Automatic Trans >> Repair and Diagnosis >> External Pages >> Different car >> Section 1717 (Trailers - Repair) >> 10 Loading Platform >> 86 10 ... Disassembly Of Loading Ramp Frame/Disassembly Of Rail, Left/Right

86 10 ... Disassembly Of Loading Ramp Frame/Disassembly Of Rail, Left/Right

WARNING: This page is about a different car, the 2008 BMW Alpina and 2007 BMW Alpina. However, it is still accessible from the selected car via links, so may be relevant.
NOTE: Two persons are required to disassemble the loading ramp frame.
Disassembly of license plate mounting plate, refer to 86 10 ... DISASSEMBLY OF LICENSE PLATE  mounting plate.
Disassembly of pull rod, refer to 86 10 ... DISASSEMBLY OF OVERRUNNING EQUIPMENT .

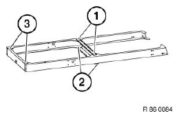
Release screws (1) of loading ramp frame (2) on cross-strut (3).

Installation: 

Tightening Torque. Refer to TRAILERS - TIGHTENING TORQUES - ALPINA .

Fig 1: Identifying Screws Of Loading Ramp Frame On Cross-Strut
G04786648Courtesy of BMW OF NORTH AMERICA, INC.

Release screws (1, 2) on left and right sides of loading ramp frame (3).

Installation: 

Use new self-locking nuts.

Tightening Torque. Refer to TRAILERS - TIGHTENING TORQUES - ALPINA .

Fig 2: Identifying Screws On Left And Right Sides Of Loading Ramp Frame
G04786649Courtesy of BMW OF NORTH AMERICA, INC.

Release screws (1, 2, 3).

Installation: 

Use new self-locking nuts.

Tightening Torque. Refer to TRAILERS - TIGHTENING TORQUES - ALPINA .

Fig 3: Identifying Screws
G04786650Courtesy of BMW OF NORTH AMERICA, INC.