LEMON Manuals: Even more car manuals for everyone
Home >> Mini >> 2013 >> Cooper Base, 2D Convertible, Automatic Trans >> Repair and Diagnosis >> External Pages >> Different car >> Section 1024 (General Electrical System - Repair) >> Relays >> 61 13... Relay carrier

61 13... Relay carrier

WARNING: This page does not describe the selected car, but rather 16 other vehicles, including the 2006 BMW 325Ci, 2005 BMW 325xi, 2005 BMW 325i, 2005 BMW 325Ci, and 2004 BMW 325xi. However, it is still accessible from the selected car via links, so may be relevant.

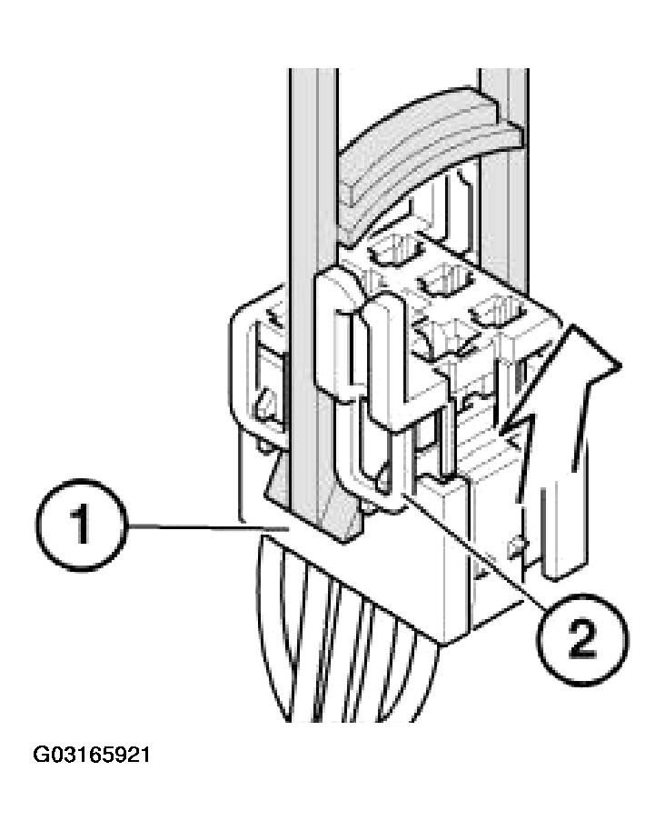
Place special tool 61 1 153 on relay carrier (1) and carefully pull in direction of arrow until retaining lugs (2) on relay carrier are raised.

Fig 1: Pulling Retaining Lugs On Relay Carrier
G03165921Courtesy of BMW OF NORTH AMERICA, INC.

Pull relay carrier (2) in direction of arrow into first catch (3).

Fig 2: Pulling Relay Carrier Into First Catch
G03165922Courtesy of BMW OF NORTH AMERICA, INC.

Press down arrester hook (4) of appropriate contact and pull out cable with contact.

Press out double flat spring contact with special tool 61 1 136 or 61 1 137 (ejector).

Fig 3: Pressing Down Arrester Hook Of Appropriate Contact
G03165923Courtesy of BMW OF NORTH AMERICA, INC.