LEMON Manuals: Even more car manuals for everyone
Home >> Mini >> 2012 >> Cooper Base, 2D Convertible, Automatic Trans >> Repair and Diagnosis >> External Pages >> Different car >> Section 573 (General Electrical System - Repair) >> 13 Plug Connection, Terminals, Fuse Box >> 61 13... Repairing Ribbon Cables

61 13... Repairing Ribbon Cables

WARNING: This page does not describe the selected car, but rather 6 other vehicles, including the 2008 BMW 760Li, 2007 BMW 760Li, 2006 BMW 760Li, 2005 BMW 760Li, and 2004 BMW 760Li. However, it is still accessible from the selected car via links, so may be relevant.
NOTE:

For Special Tool identification, see Special tools required: .

Special Tools Required: 

Place ribbon cables (1) in connector housing (2) and close cover (3).

Fig 1: Ribbon Cables, Connector Housing And Cover
G03293803Courtesy of BMW OF NORTH AMERICA, INC.

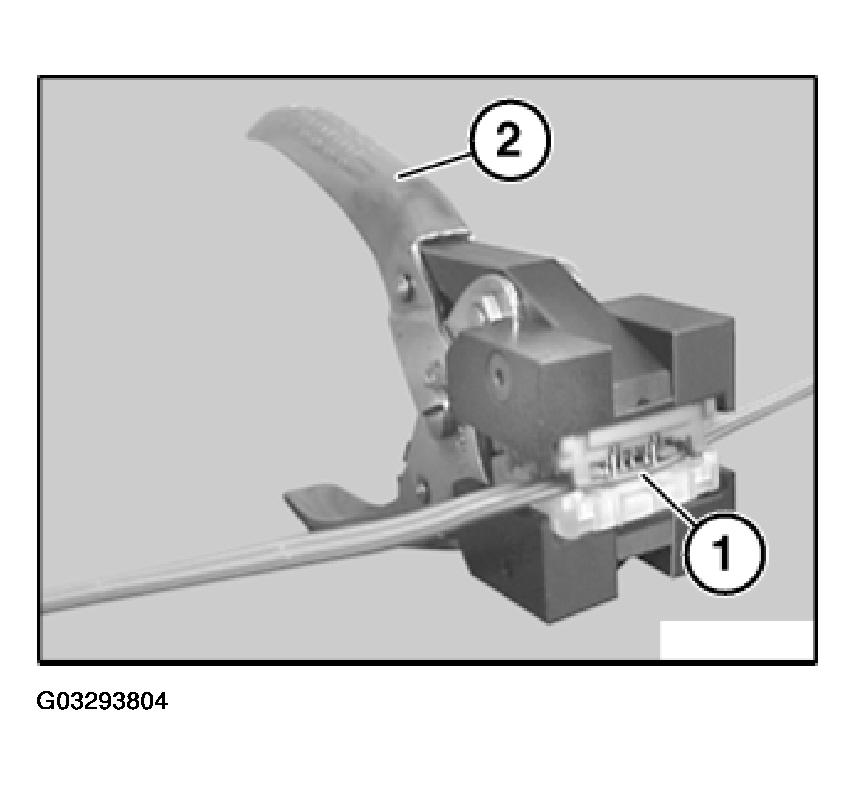
Place connector housing (1) in pliers (2) 61 1 190.

Close pliers (2).

Fig 2: Connector Housing And Special Tool (61 1 190)
G03293804Courtesy of BMW OF NORTH AMERICA, INC.